EasyManua.ls Logo

Decathlon 500 - Page 7

Decathlon 500
147 pages
Print Icon
To Next Page IconTo Next Page
To Next Page IconTo Next Page
To Previous Page IconTo Previous Page
To Previous Page IconTo Previous Page
Loading...
1. Presentation
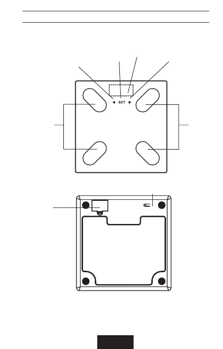
1.1. Produit
Touche Gauche / - Touche SET Ecran LCD
Touche Droite / +
Electrodes
Unité
Electrodes
Compartiment Piles
FR - 1

Related product manuals