EasyManua.ls Logo

Decathlon 500 - Page 77

Decathlon 500
147 pages
Print Icon
To Next Page IconTo Next Page
To Next Page IconTo Next Page
To Previous Page IconTo Previous Page
To Previous Page IconTo Previous Page
Loading...
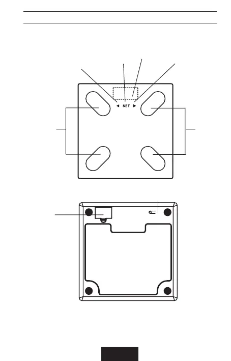
1. 󰄋
1.1. Izdelek
Leva tipka / - Tipka SET
Zaslon
LCD
Desna tipka / +
Elektrode
Enota
Elektrode

SL - 1

Related product manuals