EasyManua.ls Logo

Dell OptiPlex 780-USFF - About Your Dell OptiPlex 780-USFF AIO Stand; AIO Stand Component Identification

Dell OptiPlex 780-USFF
4 pages
Print Icon
To Previous Page IconTo Previous Page
To Previous Page IconTo Previous Page
Loading...
Warranty Statement
Innovation First, Inc. warrants our products against defects in material and workmanship for a
period of one (1) year from the date of purchase. Innovation First, Inc. liability shall be limited to
repairing or replacing, at our option, any defective product.
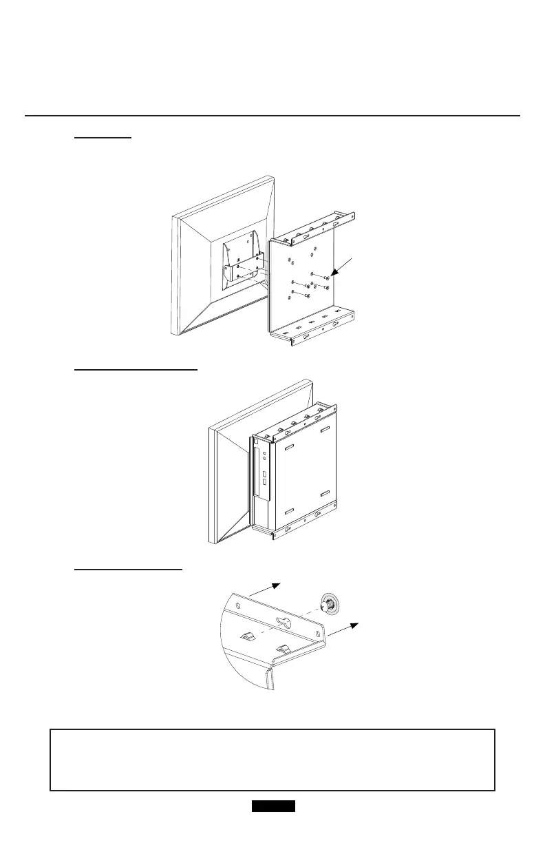
Step 6. Computer Attachment: Slide computer into Main Bracket as shown.
Installation Instructions
Step 7. Attach Mount Base: Attach base to wall using the 4 screws that were installed in
3b. Tighten Securely.
Step 5. Assembly: Remove main Bracket if it is attached to the wall before continuing
with this step. The monitor can be mounted at different heights depending on
your application. Mount the monitor assembly through the Main Bracket using the
included screws.
1952
(4) 8-32 Flat
Head Screws

Other manuals for Dell OptiPlex 780-USFF

Related product manuals