EasyManua.ls Logo

Dell PowerConnect 8164 - Configuring Stub and NSSA Areas for OSPF and Ospfv3

Dell PowerConnect 8164
1294 pages
To Next Page IconTo Next Page
To Next Page IconTo Next Page
To Previous Page IconTo Previous Page
To Previous Page IconTo Previous Page
Loading...
Configuring OSPF and OSPFv3 1011
Configuring Stub and NSSA Areas for OSPF and OSPFv3
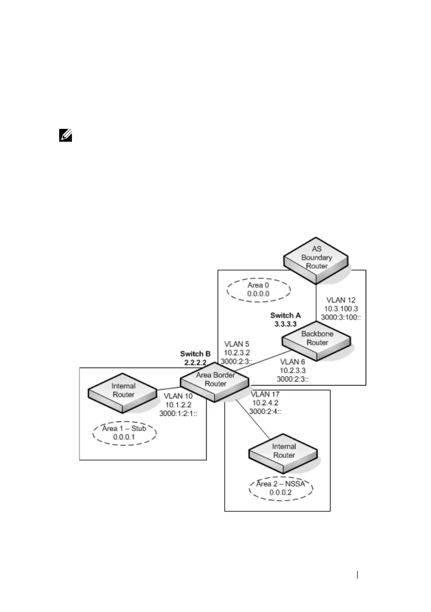
In this example, Area 0 connects directly to two other areas: Area 1 is defined
as a stub area and Area 2 is defined as an NSSA area.
Figure 35-36 illustrates this example OSPF configuration.
Figure 35-36. OSPF Configuration—Stub Area and NSSA Area
NOTE: OSPFv2 and OSPFv3 can operate concurrently on a network and on the
same interfaces (although they do not interact). This example configures both
protocols simultaneously.

Table of Contents

Other manuals for Dell PowerConnect 8164

Related product manuals