EasyManua.ls Logo

Delta 160 T6 Series - Electronic Flush Valve Installation; Rough-In Flush Valve, Frame or Box; 4 Sensor Plate Models; 14 and 14 X 20 Sensor Plate Models

Delta 160 T6 Series
10 pages
To Next Page IconTo Next Page
To Next Page IconTo Next Page
To Previous Page IconTo Previous Page
To Previous Page IconTo Previous Page
Loading...
213777, Rev. A
www. s p e c s e l e c t . c o m
Page 5
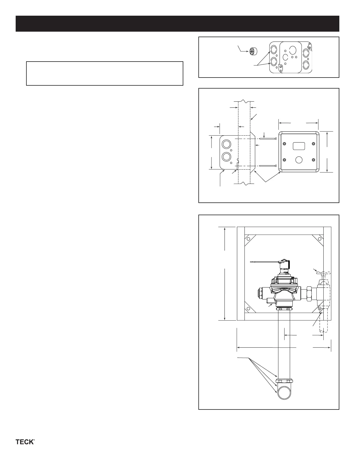
ELECTRONIC FLUSH VALVE INSTALLATION INSTRUCTIONS
STEP 1 - ROUGH-IN FLUSH VALVE, FRAME
OR BOX
NOTE: Due to excess back pressure of low ow water
closets, outlet tubes must be braced to prevent tubes
from disconnecting.
Install and attach ush valve to water supply as per Fig.1C.
4” Sensor Plate Models
If Hardwire Operated
102 mm (4”) box is supplied, remove suitable knockouts and insert
cable bushing as per Fig. 1A.
Rough-in box for sensor location as per Fig. 1D.
Note: Solenoid extension cord supplied with the trim is 1,220 mm (48”)
long.
Securely attach box to wall structure.
Install CSA and/or UL approved Class 2 transformer or equivalent
in a convenient location or in a pipe chase. (Do NOT install the
transformer inside the control box.)
Run suitable wire from 24VAC power source into box. Use wire which
complies with local electrical codes for 1 amp load. No.18 cable is
usually su󰀩cient.
Attach supplied plasterguard as per Fig. 1B to ensure sensor mounting
holes are positioned correctly.
4” Sensor Plate Models
If Battery Operated
102 mm (4”) box and 4” box extension is supplied. Remove suitable
knockout as per Fig. 1A.
Attach box extension to front of the box.
Rough-in box assembly for sensor location as per Fig. 1D.
Note: Solenoid extension cord supplied with the trim is 1,220 mm (48”)
long.
Securely attach box to wall structure.
Attach supplied plasterguard as per Fig. 1B to ensure sensor mounting
holes are positioned correctly.
14” and 14” X 20” Sensor Plate Models
12” or 12” x 18” frame is supplied. Rough in frame so the valve will be
positioned as shown per Fig. 1D.
Securely attach frame to wall structure.
Cable Bushing
Knockouts
Fig. 1A
6mm
(1/4”) Min.
35mm
(1-3/4”) Max.
Finished Wall
Vandal Proof
Screws (4)
Stainless Steel Coverplate
55mm
(2-5/32”)
102mm
(4”)
Plaster
Guard
114mm
(4-1/2”)
Sensor
Standard Electrical Box
102 x 102mm (4” x 4”)
Small Sensor Box
Fig. 1B
Wheel
Handle
Stop
Flushvalve
121mm
(4-3/4”)
305mm
(12”) Square
1” I.P. Inlet
Outlet Parts
Tubing, Elbow,
Wall and Spud
Flange, Spud
Nut, etc.
Supplied as
required for
Fixture specified.
Except for:
3/4” and 1-1/4” Top
Inlet Urinal Fixtures
where exposed
Tubing, Flanges,
Elbow, etc.
(Supplied by Others)
Fig. 1C
114mm
(4-1/2”)
305mm (12”)
Square
Access
Box Frame

Other manuals for Delta 160 T6 Series

Related product manuals