EasyManua.ls Logo

Delta Performance PG-25 - Page 31

Delta Performance PG-25
80 pages
Print Icon
To Next Page IconTo Next Page
To Next Page IconTo Next Page
To Previous Page IconTo Previous Page
To Previous Page IconTo Previous Page
Loading...
24
Primary Piping
1
12" max.
2
2
3
6
2
3
6
2
2
2
2
2
5
L
O
A
D
L
O
A
D
1
2
2
2
2
2
5
2
4
6
4
12" max.
L
O
A
D
L
O
A
D
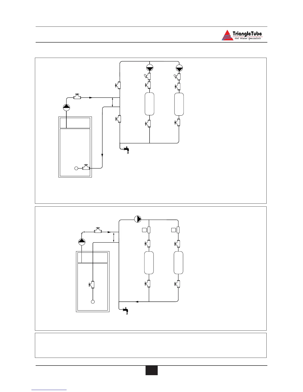
Fig. 12: Primary piping - Zoning with Circulators
Fig. 13: Primary Piping - Zoning with Zone Valves
1. Appliance circulator
2. Shut-off valves
3. Flow check valve
4. Zone valve
5. System purge valve
6. System circulator
Note: See page 23 for near appliance piping.
Install balancing valves to
adjust flow to distribute
heat to all zones
Size primary piping for
total flow of all circula-
tors
Size each circulator to
individual circuit require-
ments
Install balancing valves to
adjust flow to distribute
heat to all zones

Table of Contents