EasyManua.ls Logo

Deming 4021H - Installation; Foundation and Anchorage; Shaft Alignment Procedure

Default Icon
14 pages
Print Icon
To Next Page IconTo Next Page
To Next Page IconTo Next Page
To Previous Page IconTo Previous Page
To Previous Page IconTo Previous Page
Loading...
4
C - INSTALLATION
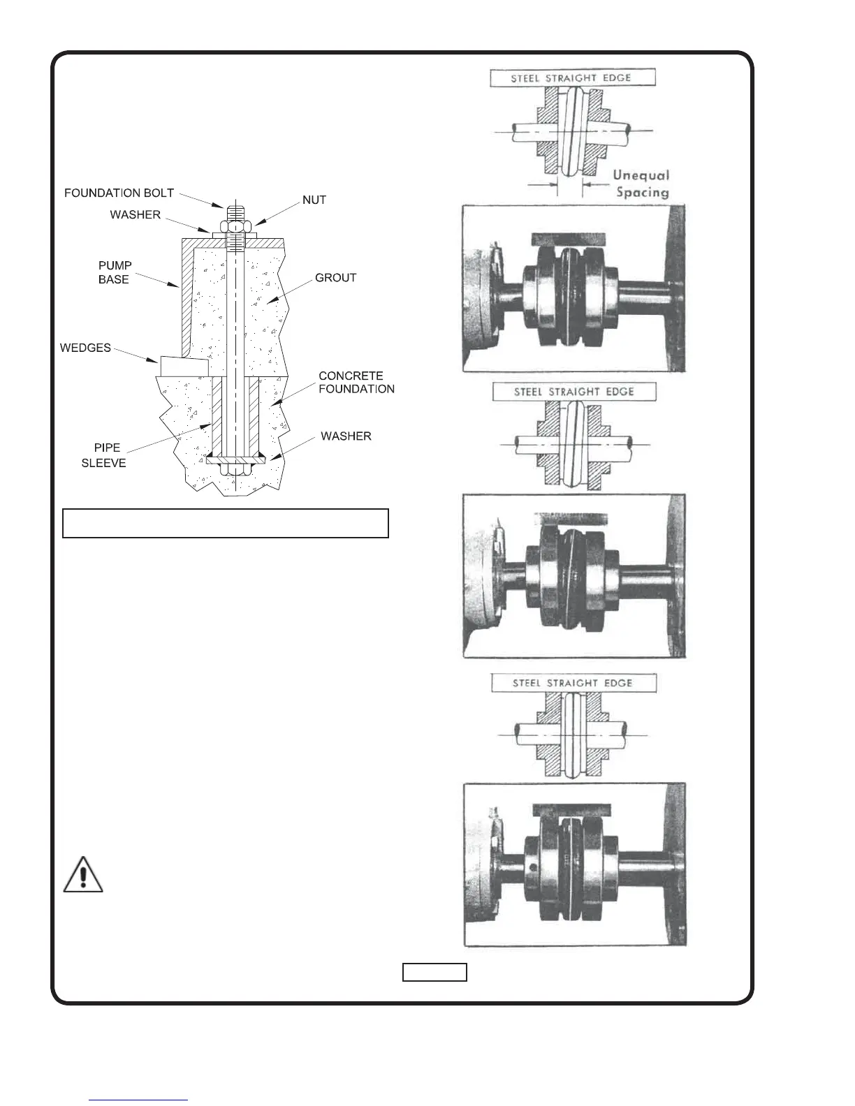
1. A good rigid foundation must be provided for pump base.
2. Place pumping unit on foundation with bolts, of the
proper size, imbedded in the concrete. A pipe sleeve,
about 2½” diameters larger than the bolt, should be
used to allow for nal positioning of the bolts. See
Figure 1.
Level sub-base, to give a space of about 3/4”
for grouting, using rectangular metal blocks and shims,
or wedges having a small taper as shown.
3. Align the pump and motor shafts at the exible coupling.
Hold a straight edge on the top of the coupling so that it
extends over both halves. Straight edge should rest
evenly across both rims of the coupling halves when the
straight edge is placed on the top, sides and bottom with
no light showing between the straight edge and rim of
the coupling. Also check vertical alignment of the
coupling faces with a thickness gauge. Faces must be
parallel and spaced about 1/8” apart when the motor
rotor is at its extreme position towards the pump. This
safe guards the pump shaft being crowded endwise by
the motor shaft end play. By proper adjustment of metal
shims under pump or motor, both halves of the exible
coupling can be brought into alignment See Figure 2.
WARNING! - Coupling Guards must be used to
avoid serious injury to operating personnel.
4. Build a dam around sub-base at least 2” high for
grouting in with thin cement and after cement has
hardened, tighten anchor bolts.
Figure 2
PERFECT
ALIGMENT
PARALLEL
MISALIGNMENT
ANGULAR
MISALIGNMENT
Figure 1. Foundation Bolt Location and Anchorage

Related product manuals