EasyManua.ls Logo

DeVilbiss HVLP Gravity Feed Spraygun - Parts List

DeVilbiss HVLP Gravity Feed Spraygun
20 pages
Print Icon
To Next Page IconTo Next Page
To Next Page IconTo Next Page
To Previous Page IconTo Previous Page
To Previous Page IconTo Previous Page
Loading...
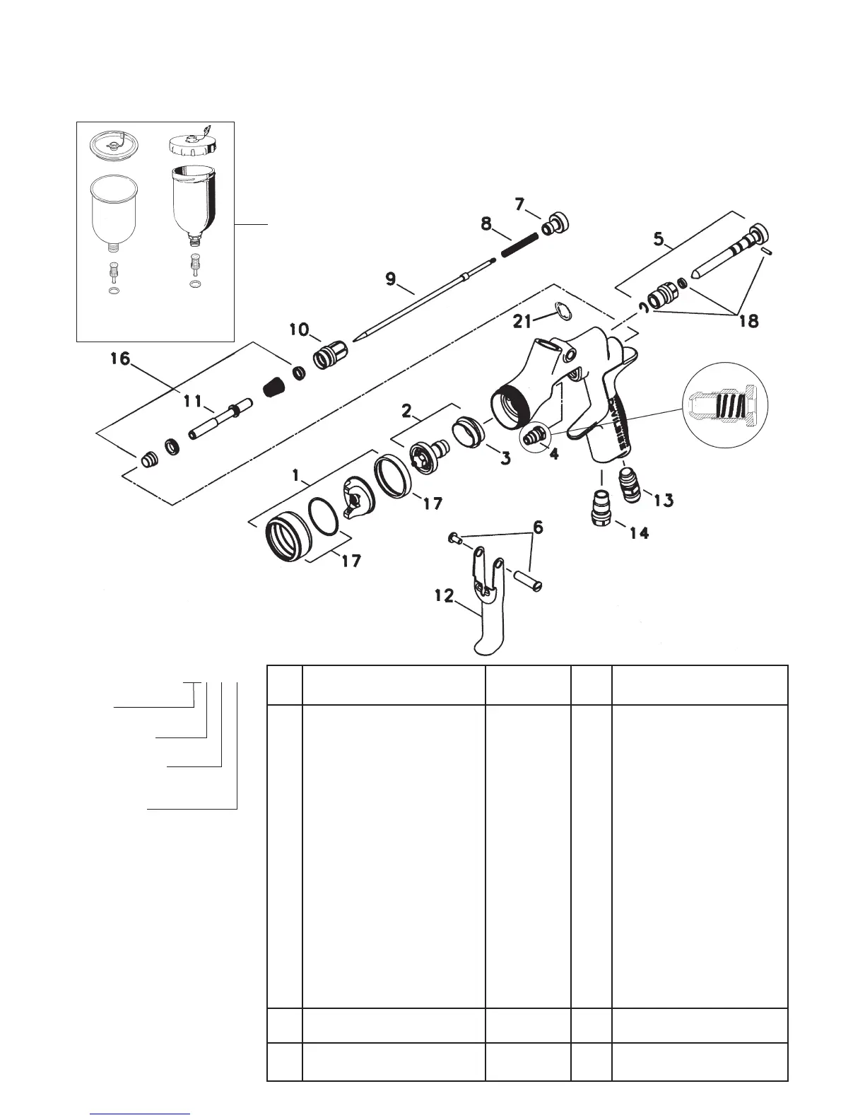
Page 3SB-2-543-F
Patent No. 2372465 (GB)
Ref.
No. Description Part Number Qty. Options
1 Air Cap/Retaining ring SP-100-***-K 1 506, 507, 508 e.g *** = 506
COM-506, COM-507 or COM-508
2 Nozzle SP-200S-**-K 1 14, 18, 22 e.g ** =14 =1.4 mm
+3 Separator (Pack of 5) SP-626-K5 1
+4 Packing (Pack of 2) GTI-445-K2 1
5 Spreader Valve SP-403-K 1
6 Stud and Screw (Pack of 5) GTI-408-K5 1
7 Needle Adjusting Screw SP-614-K 1
+8 Spring (Pack of 5) SP-622-K5 1
9 Needle SP-300S-**-K 1 14, 18, 22 e.g ** =14 =1.4 mm
10 Airvalve Housing & Seal SP-612-K 1
•11 Spindle 1
12 Trigger SP-617-K 1
13 Connector SP-611-K 1
14 Plug JGA-132 1
17 Retaining Ring and Seals SPK-102-K 1
+18 Clip, Seal and Pin Kit (Pack of 5) GTI-428-K5 1
21 Cup Gasket (Pack of 5) KGP-13-K5 1
22 Cup Assembly 1
•23 Air Valve Assembly Tool 1
24 Wrench SPN-5 1
Spraygun Service Kit SPK-402-K 1
(parts included marked + )
16 Air Valve Service Kit SPK-101-K 1
(includes 1 each parts marked • )
PARTS LIST
MODEL PART NUMBER
Example: COM-G506B-14-02
Aircap
Blue anodized
Fluid nozzle size
(14 = 1.4 mm)
00 = No cup
02 = Gravity cup, 1 liter aluminum
05 = Gravity cup, 20 oz. Acetal
22
GFC-502
1 Liter
(SB-4-043)
GFC-501
20 oz.
(SB-4-261)

Related product manuals