EasyManua.ls Logo

DIMOEL MOOV-SEZ50 - Limites de Emprego

DIMOEL MOOV-SEZ50
Print Icon
To Next Page IconTo Next Page
To Next Page IconTo Next Page
To Previous Page IconTo Previous Page
To Previous Page IconTo Previous Page
Loading...
PORTUGUÊS
34
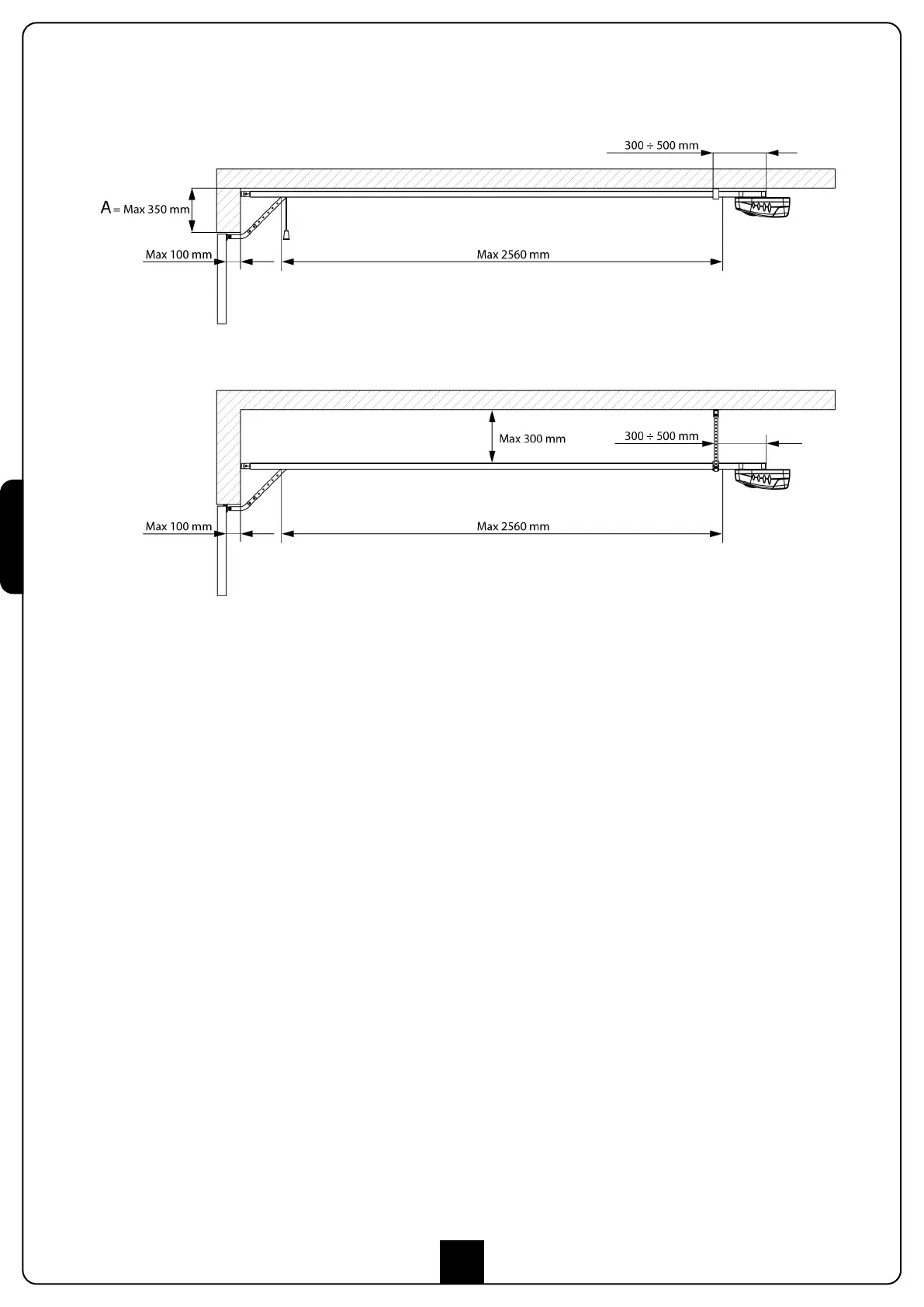
LIMITES DE EMPREGO
JET650 é capaz de automatizar portas seccionais com altura máxima até 2,25 m, portas basculantes de molas até 2,25 m e portas
basculantes com contrapesos até 2,45 m. Respeitar as seguintes medidas para o bom êxito da instalação.
ATENÇÃO: Se a medida A referida na figura acima supera os 350 mm é necessário instalar o kit acessório código 163203. Respeitar os
limites de uso referidos na figura seguinte.

Table of Contents

Related product manuals