EasyManua.ls Logo

Dimplex CDFI-BX1000 - Exploded Parts Diagram

Dimplex CDFI-BX1000
8 pages
Print Icon
To Next Page IconTo Next Page
To Next Page IconTo Next Page
To Previous Page IconTo Previous Page
To Previous Page IconTo Previous Page
Loading...
5
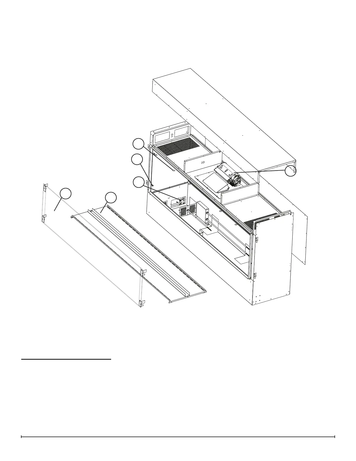
Exploded Parts Diagram
Replacement Parts List
1. Heater Assembly
CDFI-BX1000 ..................2203610300RP
CDFI-BX1500 ..................2203610600RP
2. Relay Board ....................3001890100RP
CDFI-BX1000 MOD - include ......8501580100RP
3. Media Tray
CDFI-BX1000 ..................1028280100RP
CDFI-BX1500 (2) ...............1031170100RP
1
2
3
5
6
4. Front Glass
CDFI-BX1000 ........................FG1000
CDFI-BX1500 ........................FG1500
5. Hole covers (set of 4)* ............9601740100RP
6. Glass Hardware .................8800930159RP
* CDFI-BX1500 will require 2 packs, as there are 6 hole
covers in total
CDFI-BX1500 Pictured
4

Other manuals for Dimplex CDFI-BX1000

Related product manuals