EasyManua.ls Logo

Dimplex DWF3651 - Page 8

Dimplex DWF3651
17 pages
Print Icon
To Next Page IconTo Next Page
To Next Page IconTo Next Page
To Previous Page IconTo Previous Page
To Previous Page IconTo Previous Page
Loading...
8 www.dimplex.com
Fireplace Installation
to mount the unit on a wall,
above an electrical outlet.
Access to the electrical outlet
must be maintained. Ensure
the installation meets the
national and state/provincial
electrical codes.
!
NOTE: It is recommended
that the bottom of the unit not be
mounted higher than 1020mm
(40") from the Fireplace Installa-
tion ground to maintain an opti-
mized viewing angle of the ame.
CAUTION: Ensure that the top
of the unit is at least 610mm
(24") from the ceiling or any
object (i.e. Electrical recep-
tacles) that may obstruct or be
susceptible the ow or tem-
perature of air out of the unit.
CAUTION: High temperature,
keep electrical cords, drapery,
and other furnishings at least
3 feet (0.9m) from the front of
the heater and away from the
side and rear.
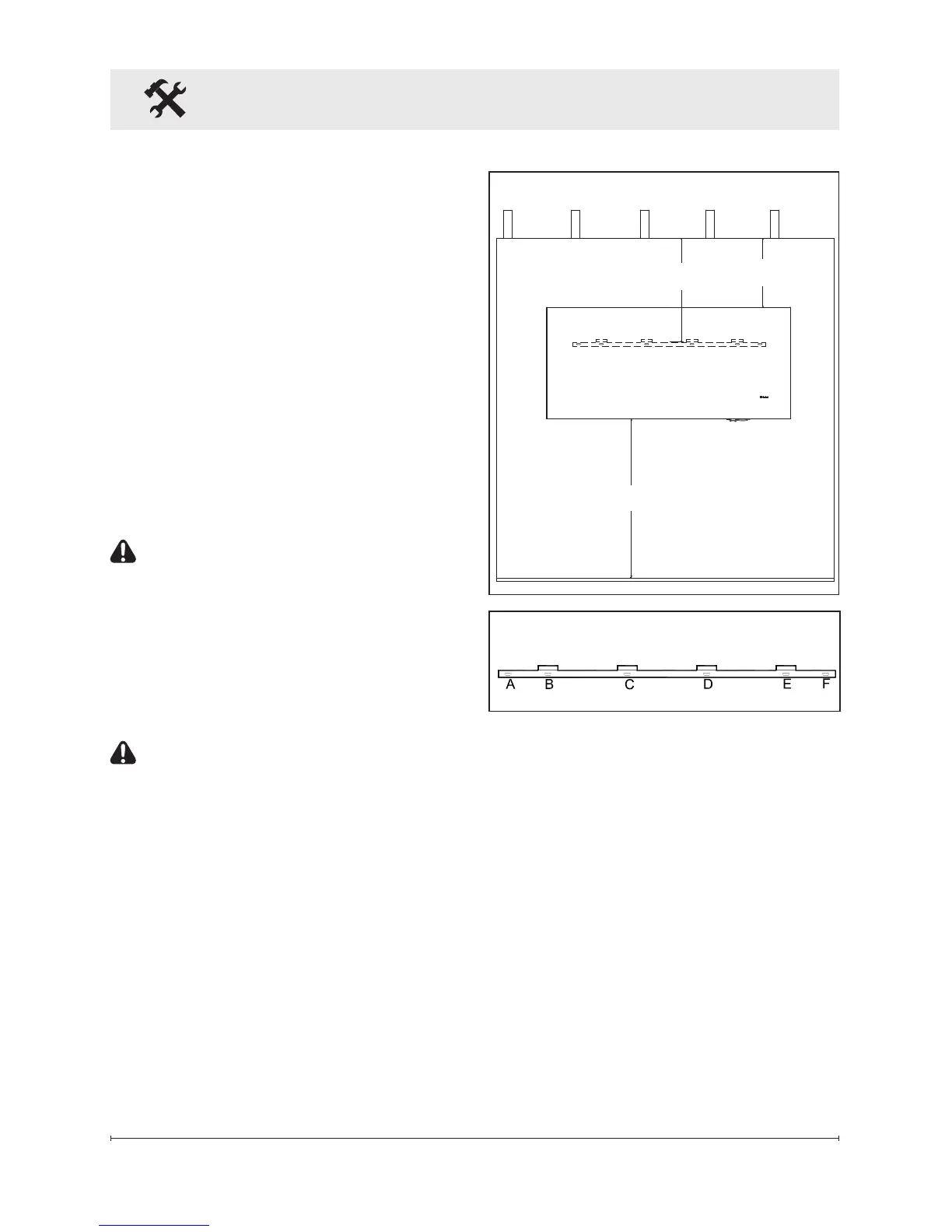
2. The wall-mounting bracket
must be mounted to at least
2 wall studs. Studs should be
accessed through 2 wall-
bracket holes in one of the
following combinations: A&F,
B&D, or C&E (Figure 2).
!
NOTE: Wall anchors must
be installed in the appropriate
wall locations to fasten the wall
bracket through the remaining
holes (Figure 3). For example, if
you plan to secure the bracket to
studs through holes A&D, install
anchors centered on holes B & C.
3. Hold the wall-mounting
bracket on the wall and mark
the location of 1 of the mount-
ing holes.
4. Place the bubble level onto
the top of the wall-mounting
Figure 2
Figure 3
40"
(102 cm)
Recommended
24"
(61 cm)
MINIMUM
32"
(81.3 cm)
MINIMUM

Other manuals for Dimplex DWF3651

Related product manuals