EasyManua.ls Logo

Dimplex Revillusion RBF42 - Wall Switch Wiring (240 V)

Dimplex Revillusion RBF42
24 pages
Print Icon
To Next Page IconTo Next Page
To Next Page IconTo Next Page
To Previous Page IconTo Previous Page
To Previous Page IconTo Previous Page
Loading...
14 www.dimplex.com
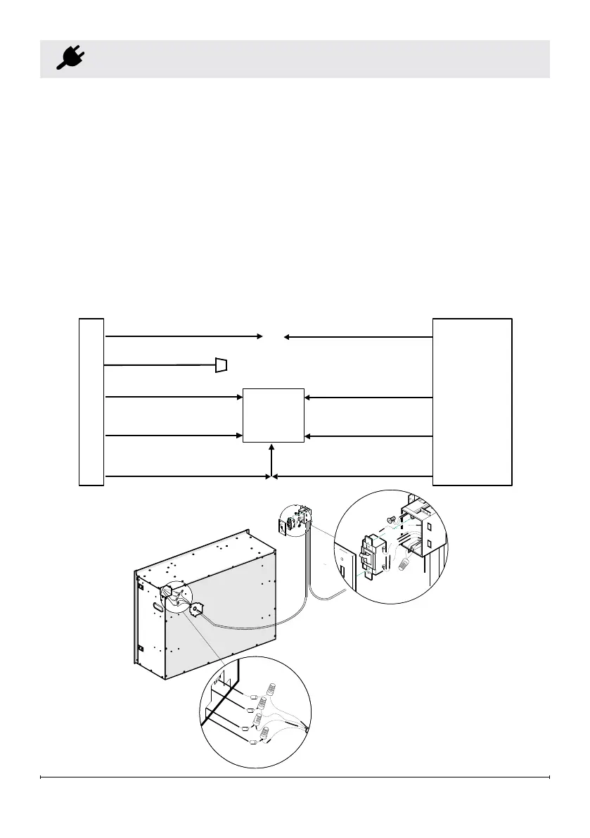
Wall Switch (240 V)
NOTE: Use a double pole, single
throw (On/Off) wall switch that is rated
for a minimum of 15 A.
!!
Electrical
Before installing the wall switch:
Connect a 3-conductor wire with
ground (4 wires total) from the
power supply panel to the main
switch wall box.
Connect a 3-conductor wire with
ground (4 wires total) from the main
switch wall box to the junction box
on the built-in electric firebox.
FIREPLACE JUNCTION BOX
WHITE - N
BLACK - L1
GROUND - G
WHITE - N
BLACK - L1
GROUND - G
240 V
POWER
SUPPLY
BREAKER
PANEL
RED - L2
RED - L2
BLUE - NH
WALL
SWITCH
G
L1
N
L2
G
L2
N
L1

Related product manuals