EasyManua.ls Logo

Dimplex SI 5TE - Last; Load; Charge si 5 TE - si 17 TE

Dimplex SI 5TE
32 pages
Print Icon
To Next Page IconTo Next Page
To Next Page IconTo Next Page
To Previous Page IconTo Previous Page
To Previous Page IconTo Previous Page
Loading...
A-XII
Anhang · Appendix · Annexes
3.2
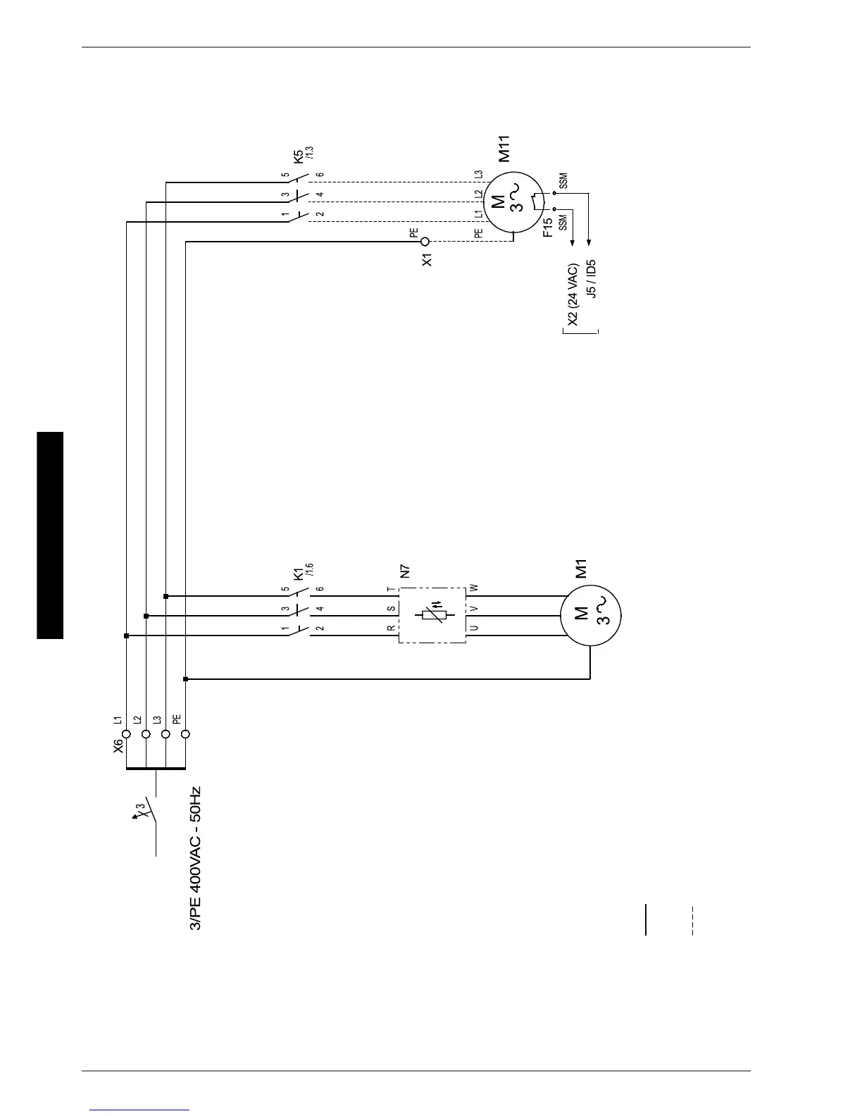
3.2 Last / Load / Charge SI 5TE - SI 17TE
1HW]Â0DLQVÂ5pVHDX
6DQIWDQODVVHUQLFKWYRUKDQGHQLQ
6,7(XQG6,7(
1RVRIWVWDUWHUSUHVHQWLQ
6,7(DQG6,7(
/HGpPDUUHXUSURJUHVVLIQ¶HVWSDVGLVSRQLEOH
SRXUOHVYHUVLRQV6,7(HW6,7(
9RUGHP(LQNOHPPHQGHV00RWRUVFKXW]HVGLH
'UDKWEUFNH$HQWIHUQHQ$LVWGLH%UFNH³6W|UXQJ0´
7KHZLUHMXPSHU$PXVWEHUHPRYHGEHIRUHFRQQHFWLQJ
WKH0PRWRUSURWHFWLRQ$LVWKH³0IDXOW´MXPSHU
5HWLUHUOHFDYDOLHU$DYDQWGHUDFFRUGHUODSURWHFWLRQ
PRWHXU0$HVWOHSRQW©3DQQH0ª
%ODWWÂ6KHHWÂ)HXLOOH1
:HUNVVHLWLJYHUGUDKWHW
:LUHGIRUXVH
&kEOpHQXVLQH
%DXVHLWVEHL%HGDUIDQ]XVFKOLHHQ
0XVWEHVXSSOLHGE\FXVWRPHUWREHFRQQHFWHGDVUHTXLUHG
$UDFFRUGHUVLEHVRLQHVWSDUOHSURSULpWDLUH

Table of Contents

Related product manuals