EasyManua.ls Logo

Directed Audio A1004 - Speaker Wiring Diagrams D2205

Directed Audio A1004
23 pages
Print Icon
To Next Page IconTo Next Page
To Next Page IconTo Next Page
To Previous Page IconTo Previous Page
To Previous Page IconTo Previous Page
Loading...
1166
© 2004 Directed Electronics, Inc
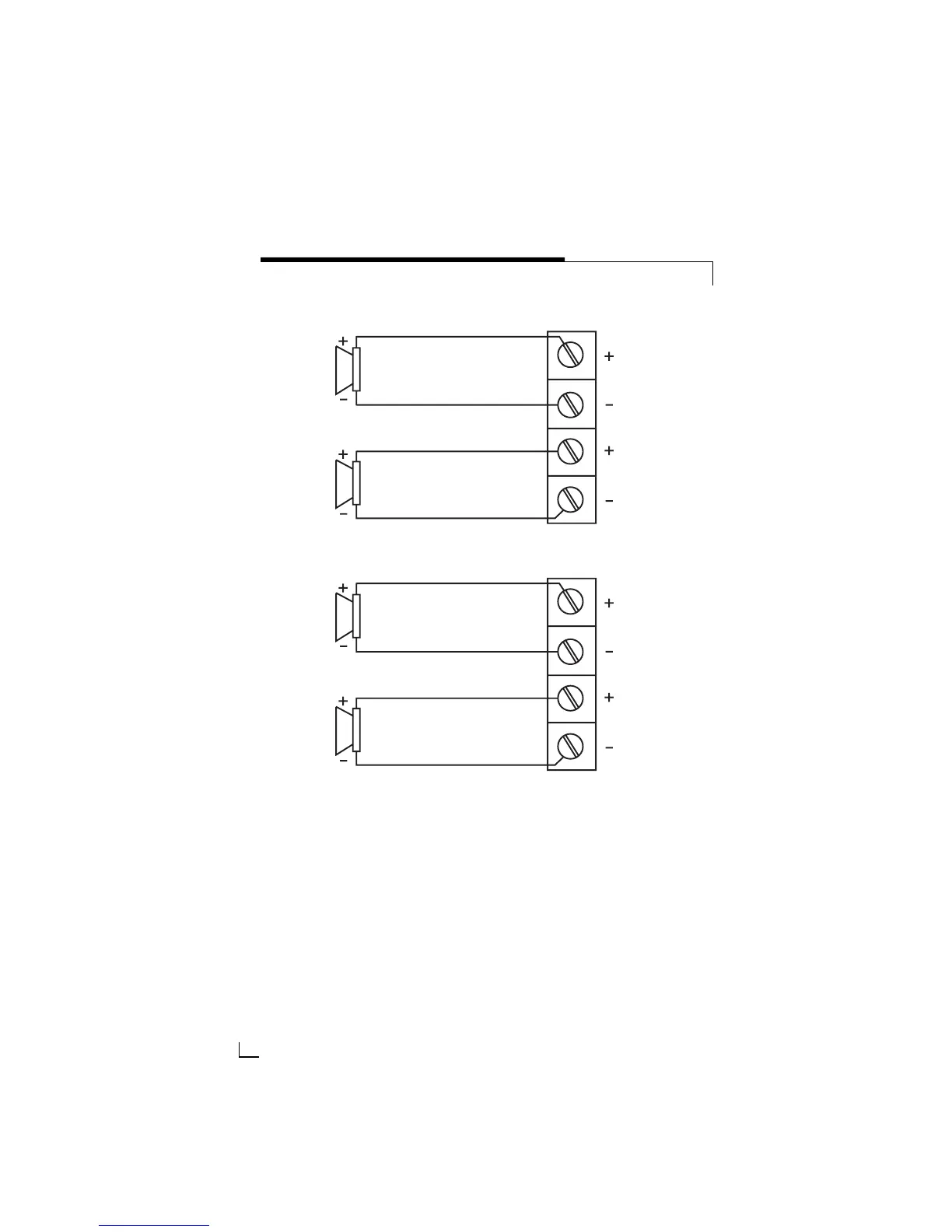
SPEAKER WIRING DIAGRAMS D2205
CH 1 FRONT
CH 2 FRONT
CH 3 REAR
CH 4 REAR
Front/Rear operation (top view)

Related product manuals