EasyManua.ls Logo

DLS SuperNaturalSound Reference 100 - 2.9 PROTECTION CIRCUITS

DLS SuperNaturalSound Reference 100
17 pages
Print Icon
To Next Page IconTo Next Page
To Next Page IconTo Next Page
To Previous Page IconTo Previous Page
To Previous Page IconTo Previous Page
Loading...
- 5 -
PASSIVE FILTERS, LEVEL SETTING, FINAL SYSTEM SETUP
2.6 PASSIVE CROSSOVERS
For maximum use of the DLS amplifiers it´s useful to
know a little about passive crossover design. Passive
crossovers are often used for conncting subwoofers
in multimode operation or for center channel speakers.
To remove frequencies over a certain frequency (the
crossover frequency) use a filter with a 6 or 12 dB
slope. This type of crossover is often used in
combination with a subwoofer.
6 dB lowpass crossover:
Consists of a coil connected in series with the driver.
12345678
1
234567
8
12345678
-
+
20 mH 10 mH 6,3 mH
2 64 Hz 32 Hz 50 Hz
4 128 Hz 64 Hz 101 Hz
8 256 Hz 128 Hz 203 Hz
This table shows the crossover frequency of a 6 dB
lowpass filter at different impedances and frequencies.
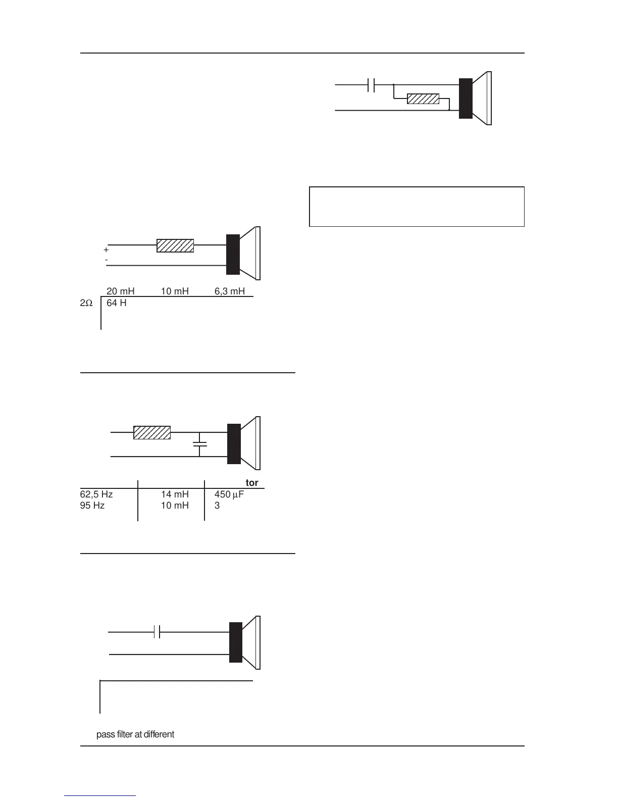
12 dB lowpass crossover:
Consists of a coil in series and a bipolar capacitor
connected in parallel with the driver.
12345678
1
234567
8
1
234567
8
12345678
+
-
X-over freq. Coil Capacitor
62,5 Hz 14 mH 450 µF
95 Hz 10 mH 300 µF
140 Hz 6,3 mH 200 µF
Valid for 4 ohm speakers only.
This type is normally used for subwoofers.
If you want to limit the lower frequency response, for
example to a stereo system in multimode operation,
a 6 dB slope crossover is perfect. Just connect a
bipolar capacitor in series with the driver.
6 dB highpass filter:
+
-
300 µF 200 µF 150 µF
2 266 Hz 400 Hz 533 Hz
4 133 Hz 200 Hz 266 Hz
8 67 Hz 100 Hz 133 Hz
12 dB highpass crossover:
X-over freq. Coil Capacitor
95 Hz 10 mH 300 µF
140 Hz 6,3 mH 200 µF
190 Hz 4,7 mH 150 µF
All valid for 4 ohm speakers.
NOTE! All DLS amplifiers are equipped with internal
low- and highpass crossovers. External passive
crossovers are used only in multimode operation.
2.7 LEVEL SETTING
To adapt the amplifier to all kind of signal sources
with varying levels there are gain controls provided
on the amplifier next to the phono sockets. They
should not be used as volume controls.
Start with a ”12 o clock” setting of the level controls. If
you set the head unit volume to 75% of maximum
you should achieve a good sound without distortion.
Find a point of the level setting where the distortion is
just discernible. At this point slightly reduce the control
to eliminate the distorsion.
On a multi channel amplifier like the Reference 200
it´s necessary to adjust the levels indiviually to achieve
a good sound balance between the different speakers,
different speakers have different sensitivity. When
using two of the channels for subwoofer operation,
start the level adjustment on these channels. After
having adjusted the bass level for good performance,
adjust the level to the front system for a good sound
balance. In multimode operation you can´t adjust the
subwoofer level separately.
2.8 FINAL SYSTEM SETUP
Before connecting the amplifier to the battey, recheck
all connections. When you connect the main fuse
you will see a little spark, this is normal. But if the
fuse blows at this moment, something is wrong.
Recheck the cabling.
Turn on your head unit, the amplifier starts and the
red LED is lit. Increase the volume and make sure
all speaker works. Readjust levels and crossover
settings if necessary. The level settings might need
to be readjusted after 25 - 30 hours of use.
2.9 PROTECTION CIRCUITS
The amplifiers have an internal high current protection
circuit shutting down the amplifier if the current draw is
too high. It is indicated with a yellow LED. The protection
circuits will reset by turning the head unit off and on
again. There are two 25 Amp fuses on the front.
Disconnect the main fuse before replacing any of these.
Always replace with the same type and value.
The amplifiers also have a thermal protection that turns
off the amplifier at 95 C. It will resume operation after
cooling down. If necessary install an external cooling
fan.
12345678
1
234567
8
12345678
+
-
This table shows the crossover frequency of a 6 dB
highpass filter at different impedances and frequencies.

Related product manuals