EasyManua.ls Logo

Dometic MINI - Page 89

Dometic MINI
108 pages
Print Icon
To Next Page IconTo Next Page
To Next Page IconTo Next Page
To Previous Page IconTo Previous Page
To Previous Page IconTo Previous Page
Loading...
ES
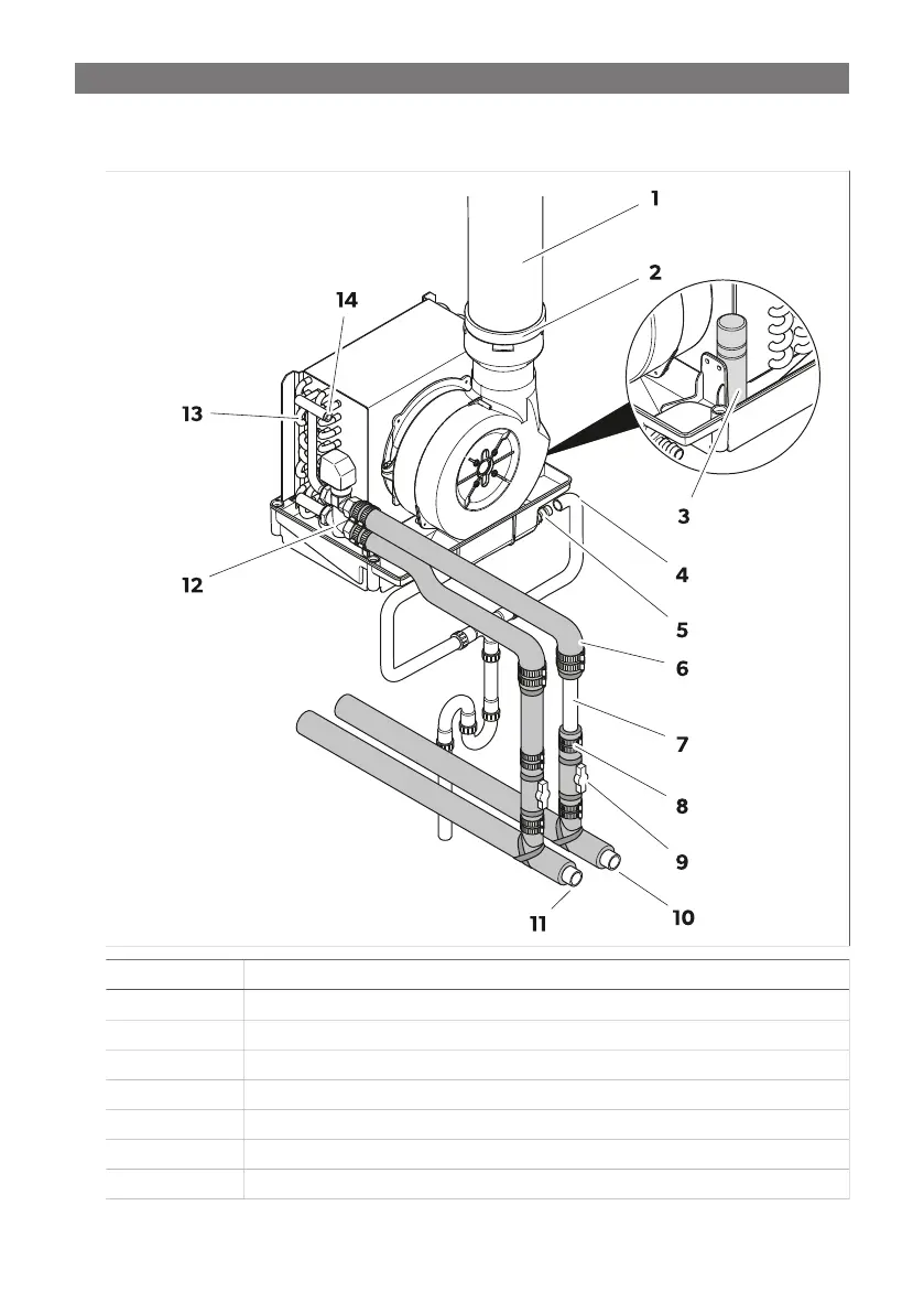
Conexión de los tubos
1. Conecte los tubos a las bobinas del ventilador como se muestra.
Núm. Descripción
1 Manguera de suministro flexible
2 Adaptador de manguera
3 Condensador
4 Desagüe
5 Conexiones de manguera
6 Abrazadera
7 Tubo de agua
89

Related product manuals