EasyManua.ls Logo

Doosan DP180LAS - Lubrication System; General Information; Engine Oil Standards

Doosan DP180LAS
262 pages
Print Icon
To Next Page IconTo Next Page
To Next Page IconTo Next Page
To Previous Page IconTo Previous Page
To Previous Page IconTo Previous Page
Loading...
4. Regular inspection
49
Lubrication system
General Information
Engine oil lubricates, cools, seals, prevents corrosion, and
cleans engines, enhancing engine performance and
extending the engine's lifetime. If a vehicle is continuously
driven while engine oil is insufficient, the moving parts of the
engine may get stuck, causing engine faults.
Engine oil should be checked through the oil level gauge and
replenished if required. Oil level should be checked while the
engine is stopped. To check the oil level,
turn off the engine while it is running and wait for 5 ~10
minutes to allow the engine oil to flow back into the oil pan.
The engine oil level should indicate between the upper limit
and the lower limit of the oil level gauge.
Engine oil should be periodically replaced based on the
regular inspection table and the oil filter and the cartridge
should be replaced as the engine oil is replaced.
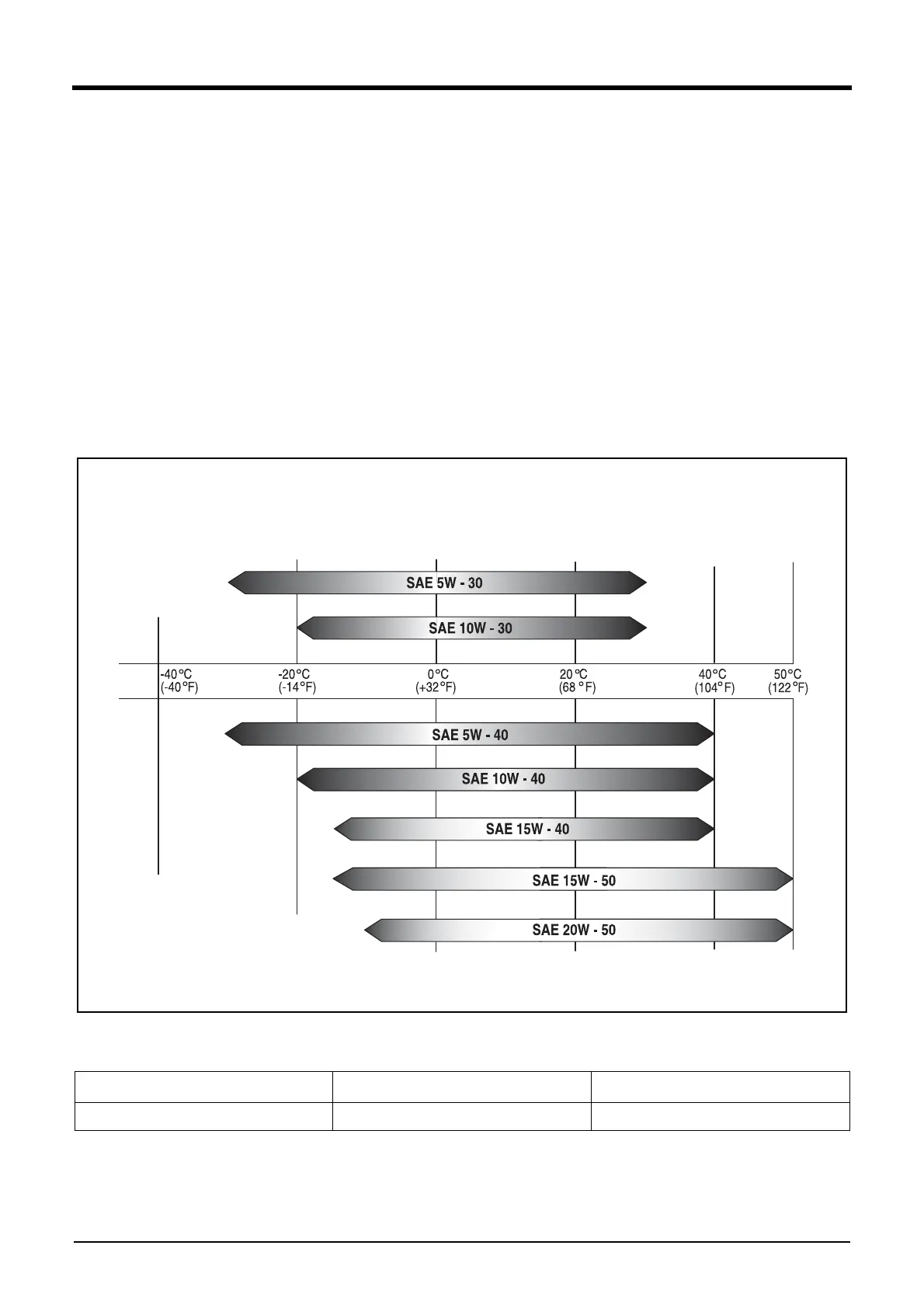
Engine oil standards
Use the specified engine oil suitable for the environment and
conditions of the site where the engine will be used.
EDL0213001A
Please use the engine oil which satisfies the following recommended specifications.
Note) Use of Doosan genuine engine oil is recommended.
Engine Model and Product Code SAE Classification Oil Class
DP158L/DP180L/DP 222L SAE 10W40 CI-4 or higher
Engine Oil Viscosity by temperature
Ambient
temperature

Table of Contents

Related product manuals