EasyManua.ls Logo

Drawmer DS201 - Block Diagram

Drawmer DS201
14 pages
Print Icon
To Previous Page IconTo Previous Page
To Previous Page IconTo Previous Page
Loading...
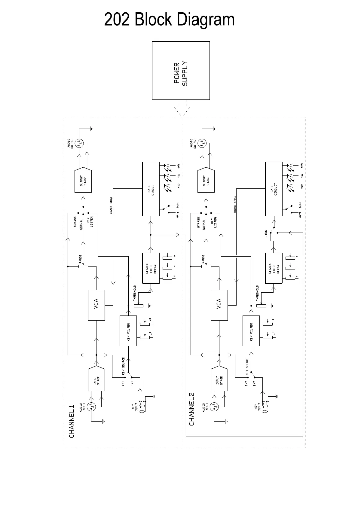
BLOCK DIAGRAM
-14-

Related product manuals