EasyManua.ls Logo

Drawmer MXPro MX30 - Block Diagram

Drawmer MXPro MX30
15 pages
Print Icon
To Next Page IconTo Next Page
To Next Page IconTo Next Page
To Previous Page IconTo Previous Page
To Previous Page IconTo Previous Page
Loading...
MX30 OPERATORS’ MANUAL12
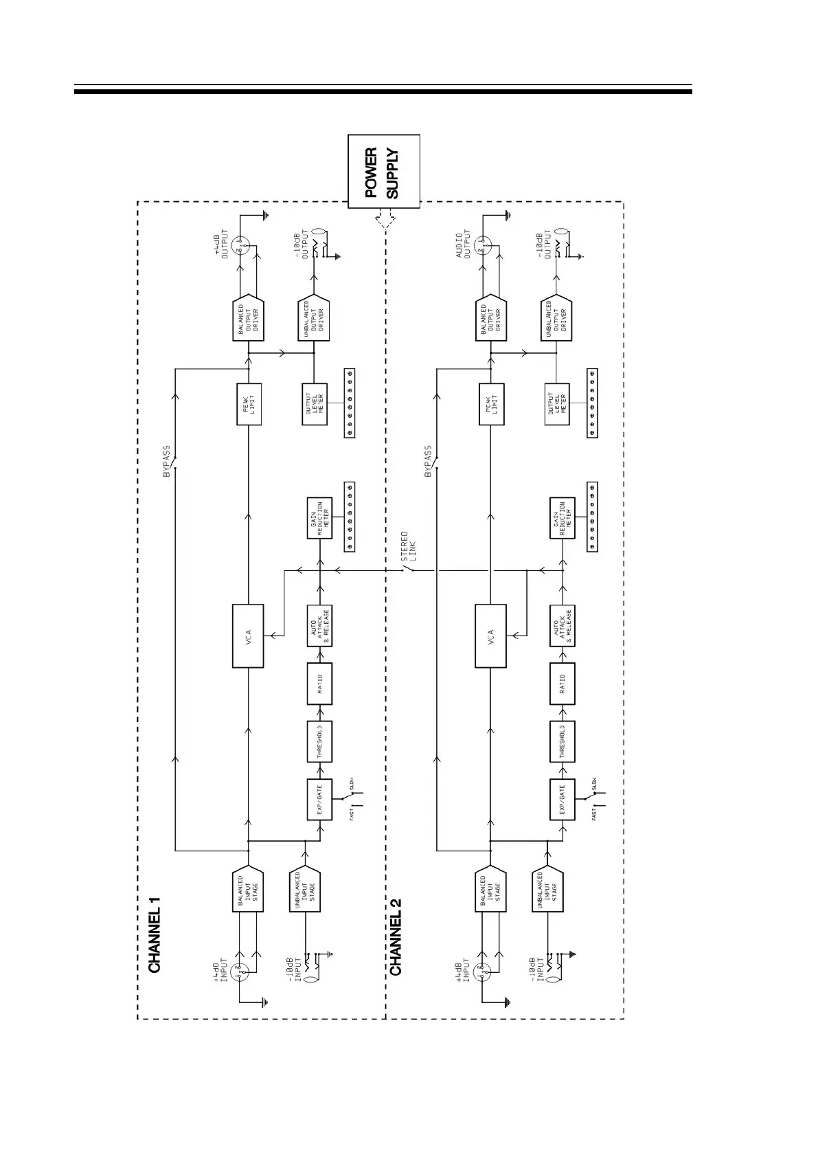
BLOCK DIAGRAM

Related product manuals