EasyManua.ls Logo

Drill Master 40070 - Maintenance and Parts Information; Inspection, Maintenance, and Cleaning; Parts List and Diagram

Drill Master 40070
12 pages
Print Icon
To Next Page IconTo Next Page
To Next Page IconTo Next Page
To Previous Page IconTo Previous Page
To Previous Page IconTo Previous Page
Loading...
Page 11
For technical questions, please call 1-800-444-3353.
Item 40070
SAFETYOPERATIONMAINTENANCE SETUP
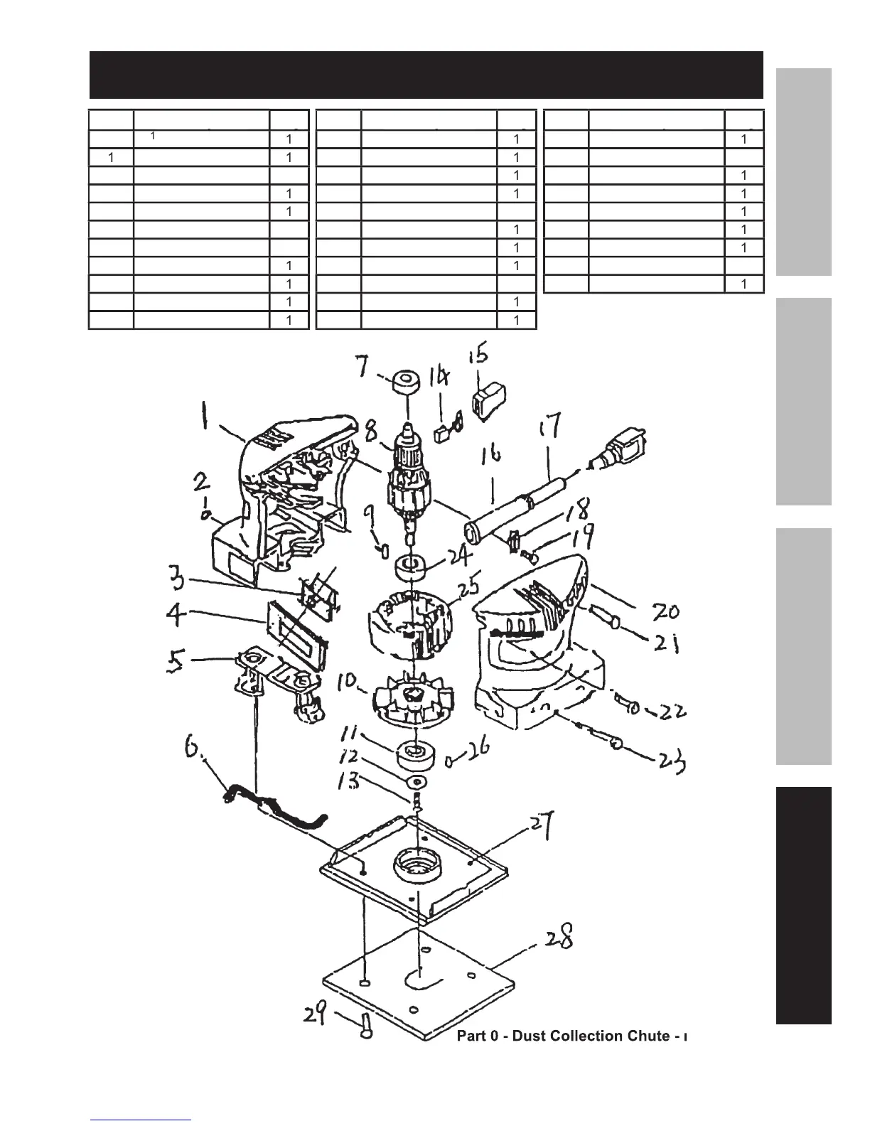
Parts List and Diagram
P
art 0 - Dust
art 0 - Dust
C
C
ollection
ollection
C
C
hute - not shown.
hute - not shown.
P
art
Description
Description
Qty
Qty
0
1-
1
/
4
″ Dust Chute
1
1
Right Housing
1
2
Hex Nut
4
3
Switch
1
4
Switch Cover
1
5
Vibration Foot
2
6
Sandpaper Clamp
2
7
Bearing
1
8
Armature Asm.
1
9
Rubber Pin
1
10
Fan
1
P
art
Description
Description
Qty
Qty
11
Bearing
1
12
Retainer
1
13
Screw
1
14
Carbon Brush Set (2)
1
15
Carbon Brush Holder
2
16
Cord Guard
1
17
Power Cord
1
18
Strain Relief
1
19
Screws
2
20
Left Housing
1
21
Bolt-Short
1
P
art
Description
Description
Qty
Qty
22
Bolt-Medium
1
23
Bolt-Long
2
24
Bearing
1
25
Stator
1
26
Rubber Pin
1
27
Base Plate
1
28
Pad
1
29
Screw
4
30
Circuit Board
1

Other manuals for Drill Master 40070

Related product manuals