EasyManua.ls Logo

DROPSA VIP4 Tools - 11. Dimensions; 11.1 VIP 1 Litre

Default Icon
17 pages
Print Icon
To Next Page IconTo Next Page
To Next Page IconTo Next Page
To Previous Page IconTo Previous Page
To Previous Page IconTo Previous Page
Loading...
13
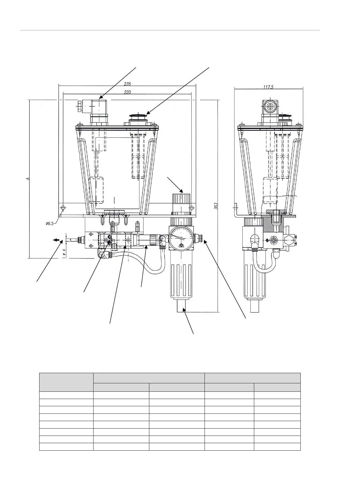
11. DIMENSIONS
11.1 VIP 1 LITRE
The panel is installation ready for the timer kit (optional) P/N 3132572
Number of elements
A Weights
(mm)
(in)
(Kg)
(lb)
1
363
14.3
2.7
5.9
2
391
15.4
3.2
7.0
3
419
16.5
3.7
8.1
4
447
17.6
4.2
9.2
5
475
18.7
4.7
10.3
6
503
19.8
5.2
11.4
7
531
20.9
5.7
12.5
8
559
22.0
6.2
13.6
Electrical level
Filler Cap
Mixing air
regulator
Use
Bleed screw
Bleed pump control
Adjustment screw
flow rate
Condensed air bleed
screw
Mixing air inlet
PIPE

Related product manuals