EasyManua.ls Logo

Dyna-Glo DGF350CSP - Cart Assembly and Panel Attachment

Dyna-Glo DGF350CSP
57 pages
Print Icon
To Next Page IconTo Next Page
To Next Page IconTo Next Page
To Previous Page IconTo Previous Page
To Previous Page IconTo Previous Page
Loading...
8
ASSEMBLY INSTRUCTIONS
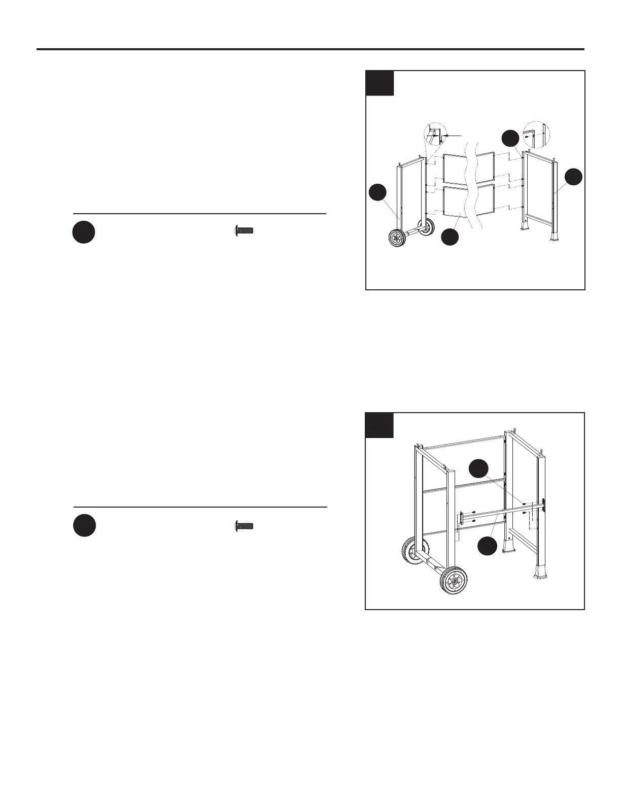
3. Assemble eight M5x14 bolts (DD) onto the left
leg assembly (O) and right leg assembly
(V) , do not tighten and make sure to leave a
5mm gap between the bolt and leg. Hang
one of the cart front panel (R) on the
lower, hang the other cart front panel (R) on
the upper, then tighten all bolts.
Hardware Used
DD
M5x14 Bolt
5mm
M5x14 Bolt
x 8
3
R
O
V
DD
4. Use four M5x14 bolts (DD) to fasten the
cart rear support (Q) to the left and right leg
assembly.
4
Q
Hardware Used
DD
x 4
DD

Related product manuals