EasyManua.ls Logo

Dyna-Glo DGSS287CB - Page 55

Dyna-Glo DGSS287CB
69 pages
Print Icon
To Next Page IconTo Next Page
To Next Page IconTo Next Page
To Previous Page IconTo Previous Page
To Previous Page IconTo Previous Page
Loading...
55
INSTRUCCIONES DE ENSAMBLAJE
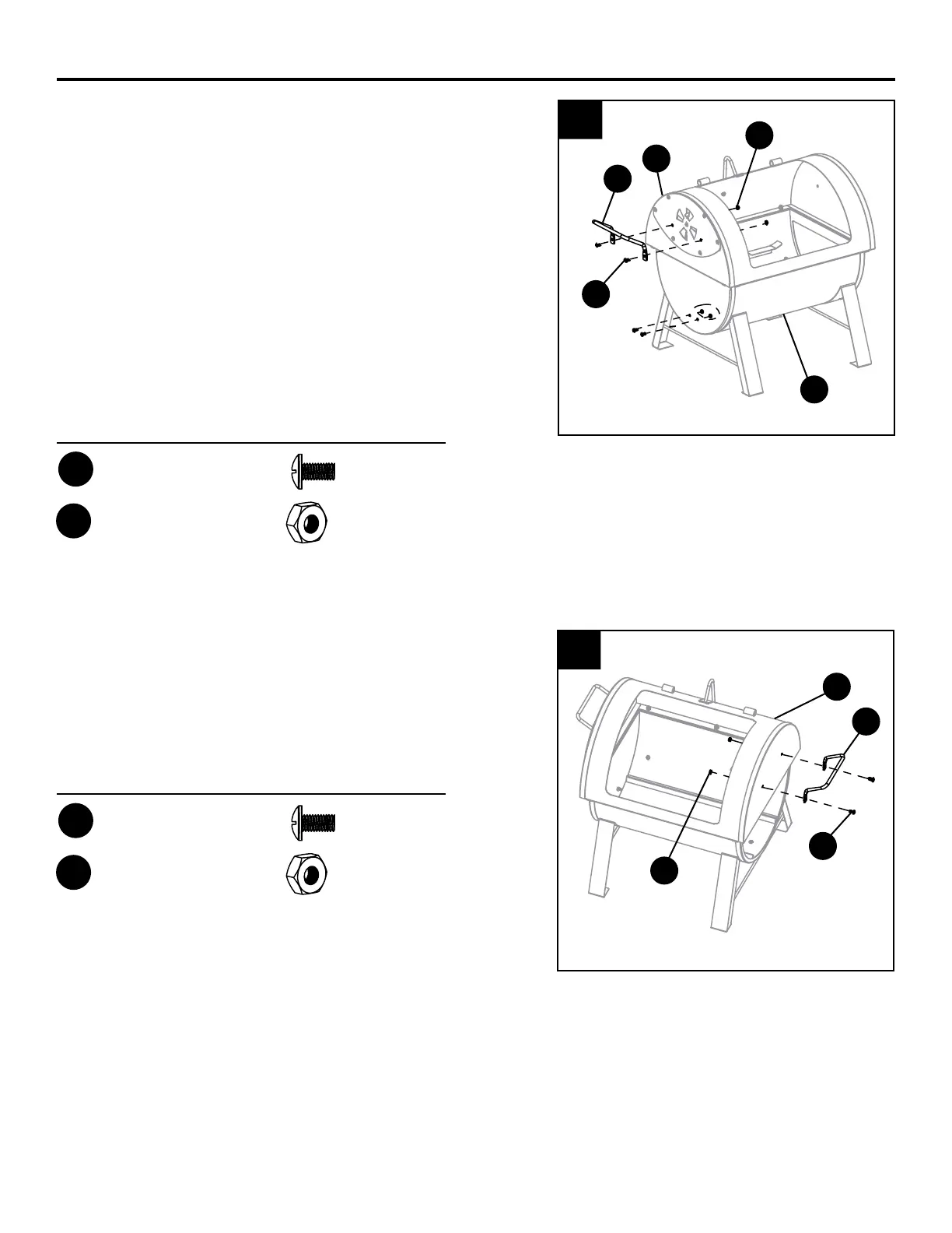
7. Fije la manija lateral (E) al plato adaptador
(M) utilizando dos pernos M6 × 12 (AA) y dos
tuercas M6 (BB).
Use dos pernos M6 × 12 (AA) y dos tuercas M6
(BB) para rellenar los dos oricios de la sección
inferior de la cámara de la combustión (K).
Nota: La parrilla también puede utilizarse como
ahumador lateral. Viene con oricios inferiores
perforados para usar una abrazadera de soporte
(no se incluye). Para obtener más información
sobre el uso de esta parrilla como ahumador
lateral, consulte la página 13.
8. Fije la otra manija lateral (E) a la sección superior
de la cámara de combustión (L) utilizando dos
pernos M6 × 12 (AA) y dos tuercas M6 (BB).
M
AA
7
8
Herramientas y tornillería utilizadas
BB
Tuerca M6
× 4
AA
Perno
M6 × 12 mm
× 4
E
BB
K
Herramientas y tornillería utilizadas
BB
Tuerca M6
× 2
AA
Perno
M6 × 12 mm
× 2
E
AA
L
BB

Related product manuals