EasyManua.ls Logo

Dyna-Glo DGSS287CB - Assembly Instructions

Dyna-Glo DGSS287CB
69 pages
Print Icon
To Next Page IconTo Next Page
To Next Page IconTo Next Page
To Previous Page IconTo Previous Page
To Previous Page IconTo Previous Page
Loading...
6
ASSEMBLY INSTRUCTIONS
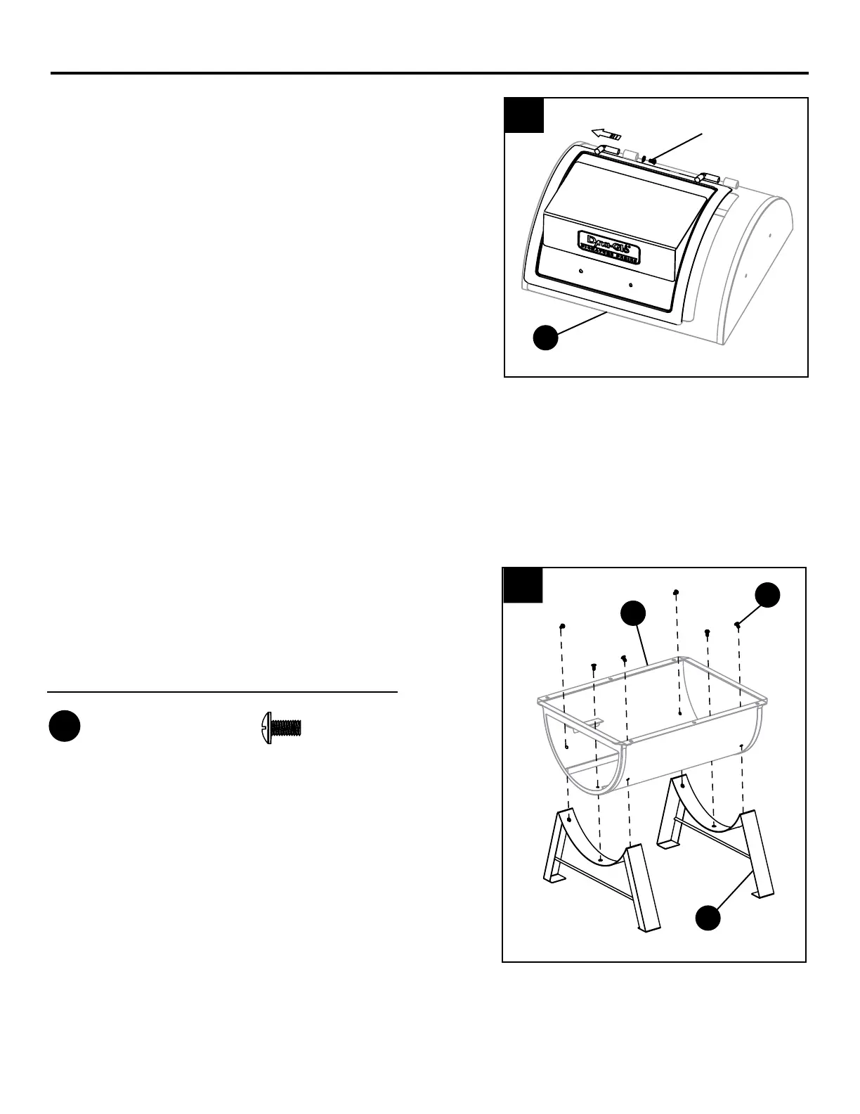
1. Remove the pre-installed bolt and washer from
the left lid hinge and slide the lid (C) off the hinges.
2. Attach the left and right leg assembly (J) to the
bottom section of the rebox (K) using three
M6 x 12 bolts (AA) per leg.
Hardware Used
AA
M6 x 12mm
Bolt
x 6
1
2
J
C
AA
K
Pre-installed
Hardware

Related product manuals