EasyManua.ls Logo

Dyna-Glo DGSS287CB - Instructions Dassemblage

Dyna-Glo DGSS287CB
69 pages
Print Icon
To Next Page IconTo Next Page
To Next Page IconTo Next Page
To Previous Page IconTo Previous Page
To Previous Page IconTo Previous Page
Loading...
29
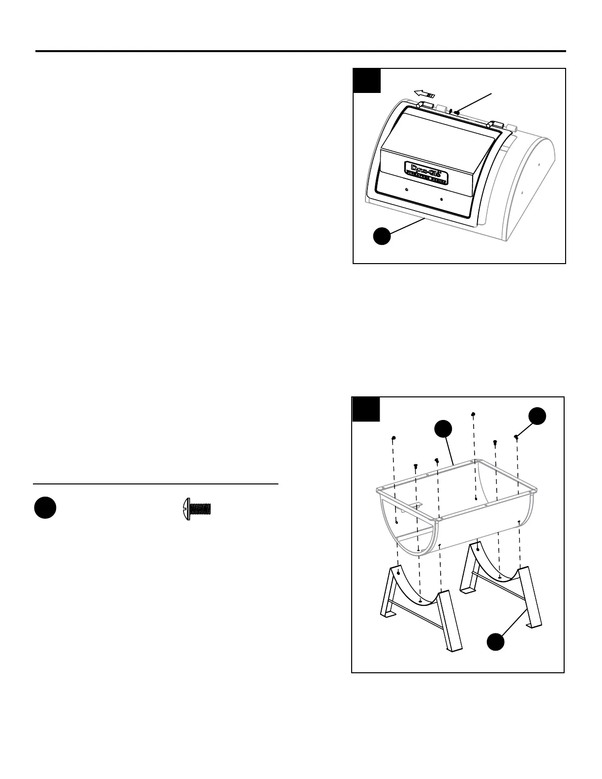
INSTRUCTIONS D’ASSEMBLAGE
1. Retirez le boulon et la rondelle préinstallés sur
la charnière gauche du couvercle et glissez le
couvercle (C) hors des charnières.
2. Fixez les pieds gauche et droit (J) à la partie
inférieure de la chambre de combustion (K) à
l’aide de trois (3) boulons M6 x 12 mm par pied.
Matériel utilisé
AA
Boulon
M6 x 12 mm
x 6
1
2
J
C
AA
K
Quincaillerie
préinstallée

Related product manuals