EasyManua.ls Logo

Dyna-Glo DGSS443CB - Assembly Instructions

Dyna-Glo DGSS443CB
15 pages
Print Icon
To Next Page IconTo Next Page
To Next Page IconTo Next Page
To Previous Page IconTo Previous Page
To Previous Page IconTo Previous Page
Loading...
6
ASSEMBLY INSTRUCTIONS
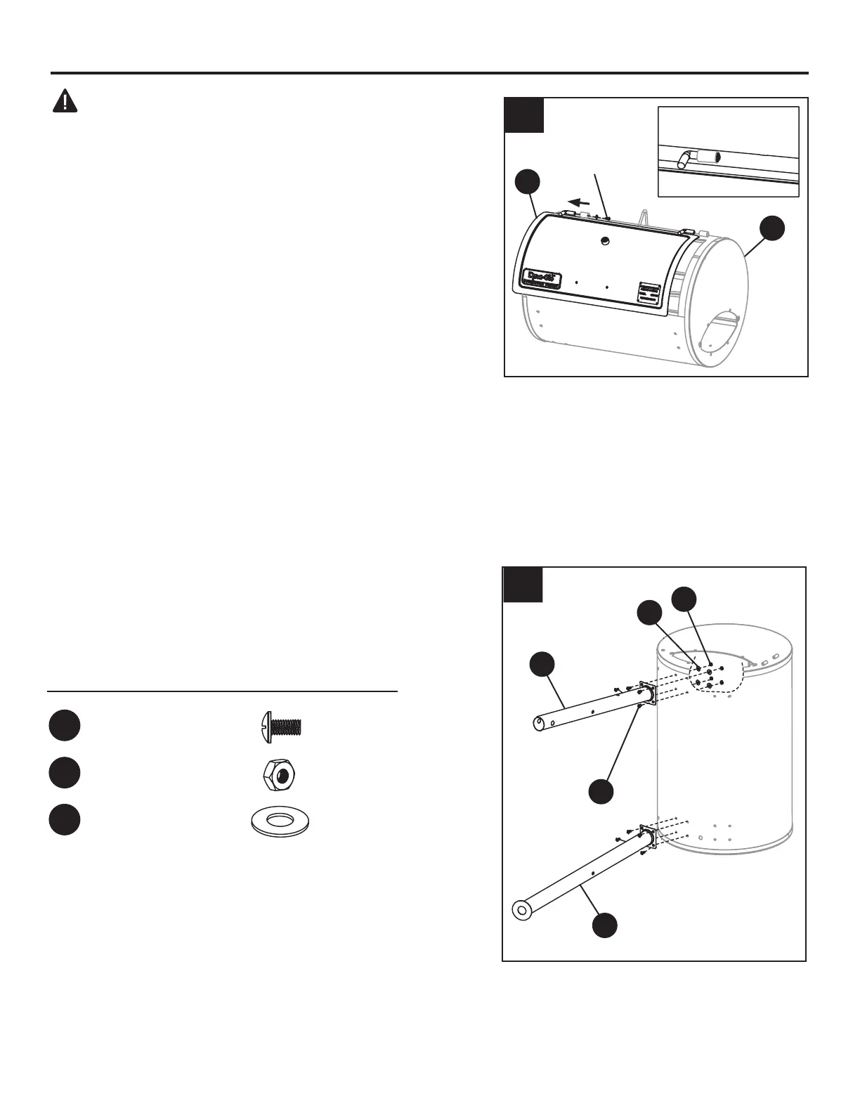
CAUTION: This unit is HEAVY! Do not attempt to
handle this unit without assistance!
1. Remove the pre-installed bolt and washer from
the left lid hinge on the grill body (G) and slide the
lid (A) off the grill body hinges.
2. Attach the left front leg (L) and right front leg (N)
using four M6 x 12 bolts (AA), four M6 nuts (BB)
and four M6 at washers (CC) per leg.
Hardware Used
AA
M6 x 12mm
Bolt
x 8
1
2
N
BB
G
AA
BB
M6 Nut
x 8
A
L
CC
CC
M6 Flat Washer
x 8
Pre-installed
Hardware

Related product manuals