EasyManua.ls Logo

Dyna-Glo DGSS675CB-D - Step 5-6: Side Handle & Smoke Stack

Dyna-Glo DGSS675CB-D
54 pages
Print Icon
To Next Page IconTo Next Page
To Next Page IconTo Next Page
To Previous Page IconTo Previous Page
To Previous Page IconTo Previous Page
Loading...
8
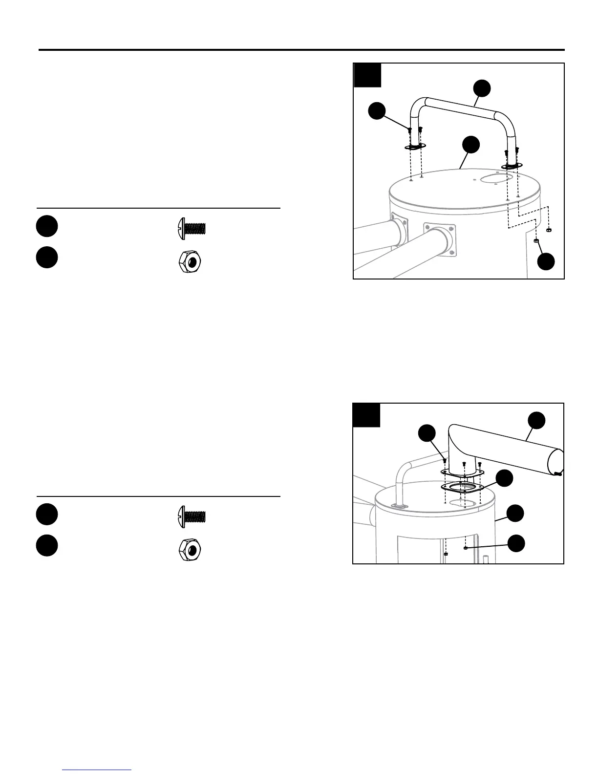
ASSEMBLY INSTRUCTIONS
5. Attach side handle (L) to the left side of the grill
body (D) using four M6 x 12 bolts (AA) and four
M6 nuts (BB).
6. Place the smoke stack gasket (K) between the
grill body (D) and the smoke stack (I) and attach
using four M6 x 12 bolts (AA) and four
M6 nuts (BB).
K
D
6
Hardware Used
AA
M6 x 12mm
Bolt
x 4
L
D
BB
5
BB
M6 Nut
x 4
AA
BB
Hardware Used
AA
M6 x 12mm
Bolt
x 4
BB
M6 Nut
x 4
I
AA

Related product manuals