EasyManua.ls Logo

Dyna-Glo M486BBDG14 - Page 40

Dyna-Glo M486BBDG14
96 pages
Print Icon
To Next Page IconTo Next Page
To Next Page IconTo Next Page
To Previous Page IconTo Previous Page
To Previous Page IconTo Previous Page
Loading...
40
INSTRUCTIONS POUR L’ASSEMBLAGE
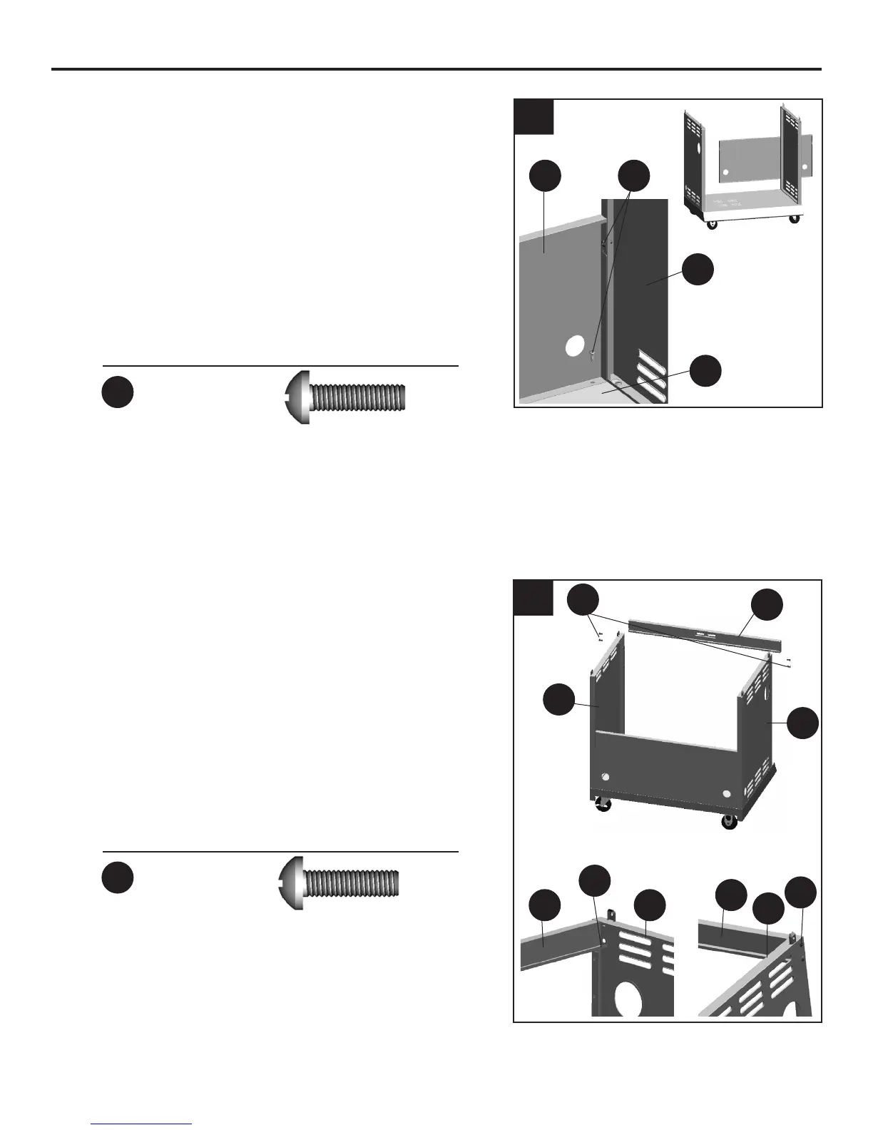
3. Insérez une vis (AA) dans les trous à l’arrière
du panneau gauche et panneau droit du
charriot (H&E). Laissez un écart de 4-6mm
entre la tête de la vis et les panneaux latéraux
(H&E). Fixez le panneau arrière du charriot (I)
en glissant les trous de serrure du panneau
arrière dans les vis et en appuyant. Fixez le
panneau arrière (I) à l’étagère du bas (A) avec
3 vis (AA). Serrez les 2 vis sur les panneaux
latéraux (H&E).
Quincaillerie utilisée
AA
x 5
4. Alignez le renfort supérieur de la porte avant
(Y) aux trous 1 du panneau gauche du charriot
(H). Fixez le renfort supérieur de la porte 2
avec 2 vis (AA). Faites la même chose avec le
renfort supérieur de la porte (Y) et le panneau
droit (E).
Quincaillerie utilisée
AA
x 4
3
4
E
I
A
AA
Y
H
Y
E
AA
Y
2
H
1
H
Vis M6
de 12 mm
Vis M6
de 12 mm

Related product manuals