EasyManua.ls Logo

Ecler Nuo3 - Internal jumper configuration

Ecler Nuo3
48 pages
Print Icon
To Next Page IconTo Next Page
To Next Page IconTo Next Page
To Previous Page IconTo Previous Page
To Previous Page IconTo Previous Page
Loading...
46
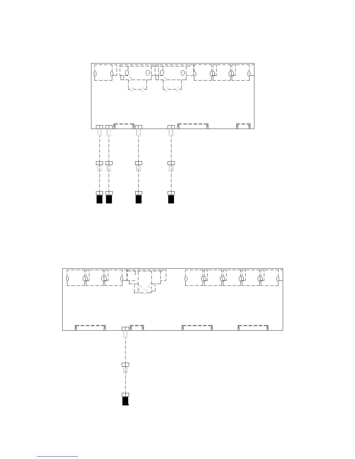
10.1.3. Internal jumper configuration 10.1.3. Configuración interna de los jumpers
10.1.3. Configuration du cavalier interne 10.1.3. Interne Jumperkonfiguration
JUMPER ON + 6dB
JUMPER OFF 0dB
FACTORY ADJUSTED
OUTPUTS CONFIGURATION
OUT 2 RIGHT
OUT 2 LEFT
OUT 1 RIGHT
OUT 1 LEFT
BOTTOM VIEW
PHANTOM CONFIGURATION
JUMPER OFF = PHANTOM OFF
FACTORY ADJUSTED
JUMPER ON = PHANTOM ON
BOTTOM VIEW

Table of Contents

Related product manuals