EasyManua.ls Logo

Edgewater Networks 245CC - HF5514; Application: Dual cylinder installations; HF5515

Default Icon
234 pages
Print Icon
To Next Page IconTo Next Page
To Next Page IconTo Next Page
To Previous Page IconTo Previous Page
To Previous Page IconTo Previous Page
Loading...
10-14
Selection Guide
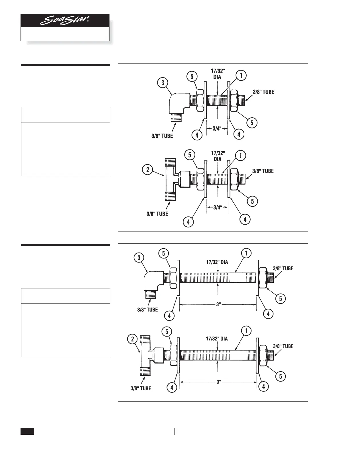
FITTING KITS
2 OF EACH ILLUSTRATED INCLUDED IN KIT
2 OF EACH ILLUSTRATED INCLUDED IN KIT
HF5514
3/4" bulkhead fitting kit
Application: Dual cylinder
installations
ITEM
QUANTITY PART
NO. DESCRIPTION PER KIT NO.
1 Connector Fitting 4 286323
2 Tee Fitting 2 284826
2 Ends 3/8" Tube (M)
Center 1/4
"
NPT (F)
3 Street Elbow 2 600606
3/8" Tube (M)
1/4
"
NPT(F)
4 Washer 8 202224
5 Nut 4 191621
HF5515
3" bulkhead fitting kit
Application: Dual cylinder
installations
ITEM
QUANTITY PART
NO. DESCRIPTION PER KIT NO.
1 Connector Fitting 4 286323
2 Tee Fitting 2 284826
2 Ends 3/8" Tube (M)
Center 1/4
"
NPT (F)
3 Street Elbow 2 600606
3/8" Tube (M)
1/4
"
NPT(F)
4 Washer 8 202224
5 Nut 4 191621

Table of Contents