EasyManua.ls Logo

Edgewater Networks 245CC - Teleflex Hydraulic Steering; The System: How it works

Default Icon
234 pages
Print Icon
To Next Page IconTo Next Page
To Next Page IconTo Next Page
To Previous Page IconTo Previous Page
To Previous Page IconTo Previous Page
Loading...
SEASTAR and BAYSTAR Hydraulic Steering Systems
iii
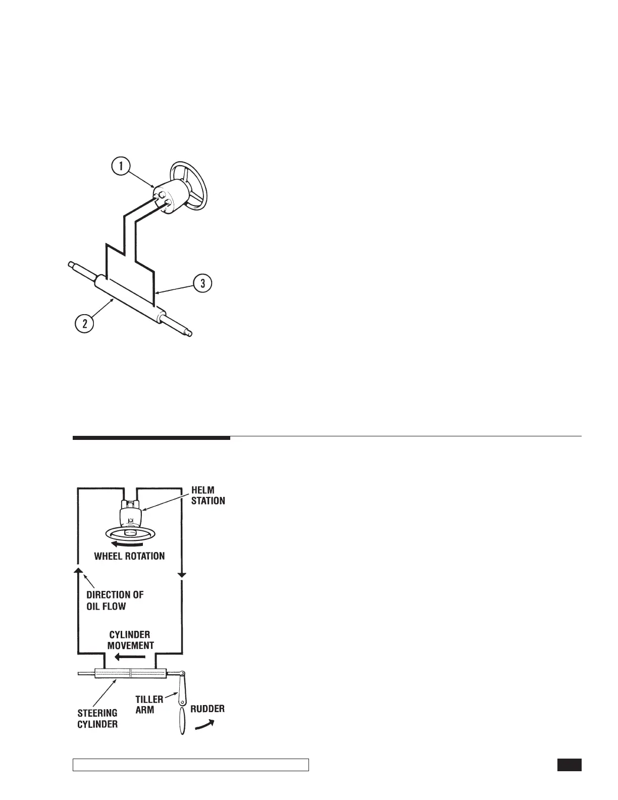
Our manual hydraulic steering systems are simple and efficient.
The basic system consists of three main components;
1) the helm pump, 2) the cylinder, and 3)
the hose or tubing required
to connect the cylinder to the helm pump.
These basic components are necessary in all applications. However as
the system variables increase (ie: multiple engines, rudders, steering
stations and autopilots), additional components may be required.
1. The Helm Unit.
The helm pump is an axial piston pump specifically designed for
manual steering. It has a built-in lock valve to prevent the steering
load from feeding back to the driver. The lock valve will not allow
the rudder or drive unit to move until you move it with the steering
wheel. The lock valve section of the helm also includes a relief
valve. This relief valve provides over-pressure protection for
mechanical components and hydraulic hoses and fittings.
2. The Cylinder.
The most important differences between the variety of steering
systems available is the cylinder selection. Both BayStar and
SeaStar systems have a cylinder for most steering applications.
3. Hoses and Tubes.
Required to provide a path for the fluid to flow under pressure from
the helm pump to the cylinder.
The system is a two-line system. This makes operation very simple.
1) The steering wheel, which is attached to the helm pump, is
rotated in the desired direction (ie: a turn to starboard or
clockwise rotation).
2) Oil is pumped out the corresponding port from the rear of the
helm into the starboard line and then into the cylinder.
3) This causes the cylinder rod, which is attached to the vessels
rudder or drive unit, to move (ie: rod moves to port) thus
causing the vessel to alter course.
4) Oil displaced from the opposite end (ie: the port end) of the
cylinder flows (ie: into the port line) back to the helm pump.
5) For steering in the opposite direction, simply turn the helm the
other way.
6) When no course corrections are required, the integral lock valve
holds the rudder or drive unit stationary.
Teleflex Hydraulic Steering
The System: How it works

Table of Contents

Related product manuals