EasyManua.ls Logo

Eisno HB4801 - Page 9

Default Icon
18 pages
Print Icon
To Next Page IconTo Next Page
To Next Page IconTo Next Page
To Previous Page IconTo Previous Page
To Previous Page IconTo Previous Page
Loading...
8
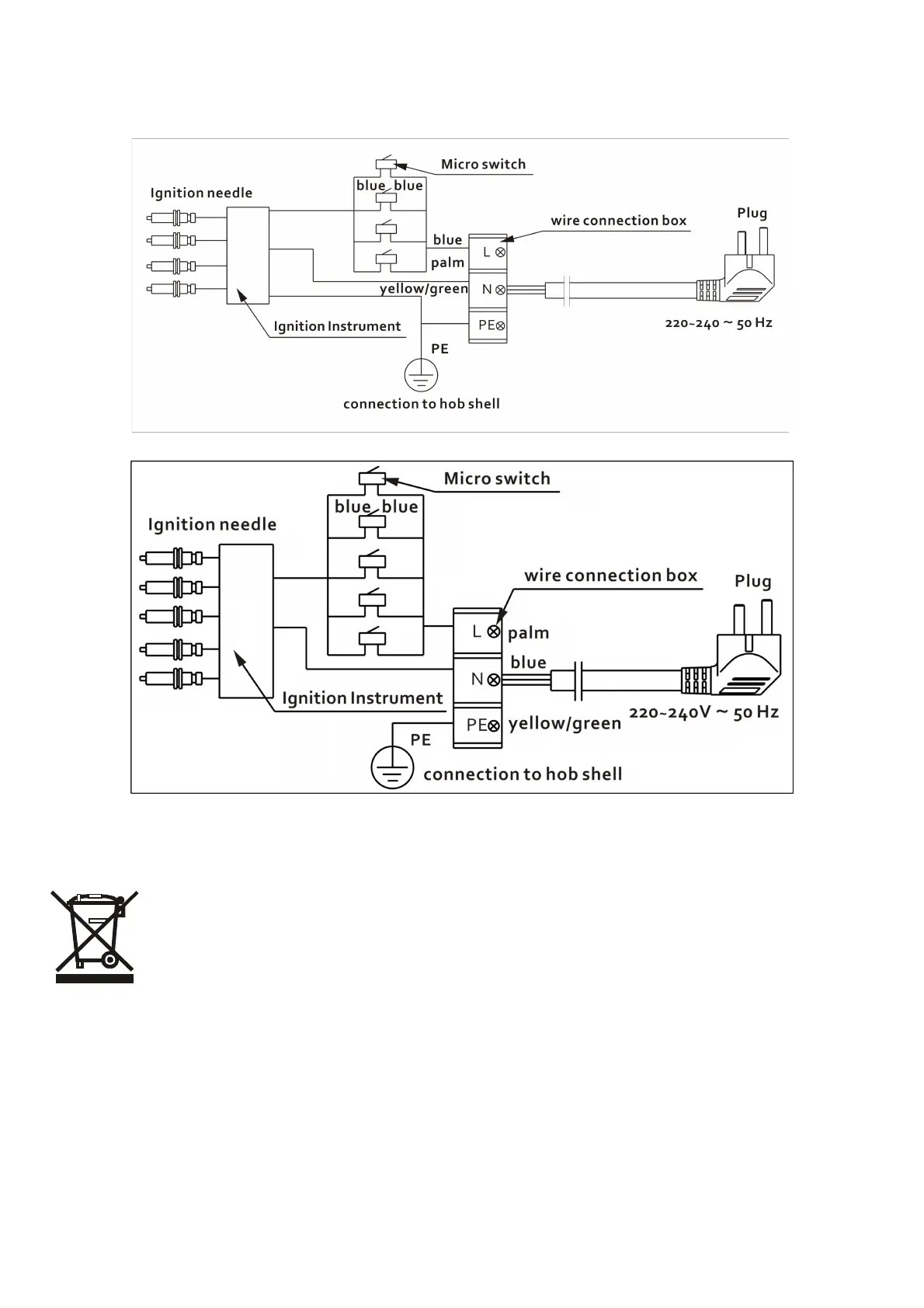
4 burners
5 burners
Circuit diagram
Disposing of the device
When disposing of the device, do not bring it to regular municipal waste containers. Instead, bring it to
electrical and electronic waste recycling and reuse center. A relevant label has been put on the device,
its instructions manual, or the package. The device has been manufactured of recyclable material. By
bringing old device to recycling collection center, you show that you care about nature. Ask your local
environmental care authority for information on location of such facilities.
SETTING THE GAS PRESSURE:
Fit a manometer with a 6 mm rubber hose to the test point on the regulator (for natural gas) Test point for LPG.
Light Wok and Auxiliary burner on and adjust test point pressure to 1.00 kPa. Turn the two burners off and on again
and recheck the pressure is same as set previously or adjust as required.
TEST FOR CORRECT OPERATION:
After installation and test point setting, each burner ignition and operation must be tested individually and with all
burners operating. This testing must be done by the installer before leaving.
ADJUSTING THE BURNER MINIMUM FLAME HEIGHT: