EasyManua.ls Logo

EKF TE-80 - Page 16

EKF TE-80
24 pages
Print Icon
To Next Page IconTo Next Page
To Next Page IconTo Next Page
To Previous Page IconTo Previous Page
To Previous Page IconTo Previous Page
Loading...
16
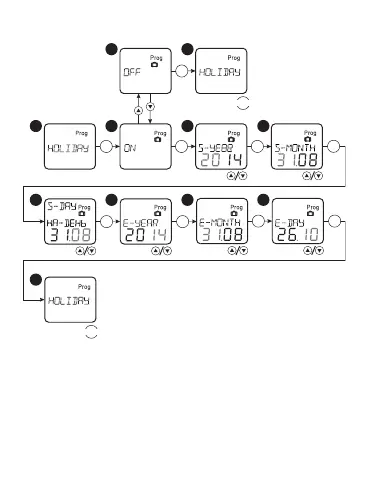
«HOLIDAY» mode setting:
1 2 3
10 11
4
5
9
6 7 8
MENU
MENU
OK
OK OK
OK OK
OK
OK
OK
OK
Select in the main menu the option «HOLIDAY», conrm the
selection with the button «ОК». Then select the option «ON»,
conrm the selection with the button «ОК». After that set the year,
month and day for «ON» and «OFF» mode. In order to switch off
the «HOLIDAY» mode, select the option and conrm the selection
with the button «OK» .