EasyManua.ls Logo

Electrolux EGG6042NOX - Product Description; Daily Use

Electrolux EGG6042NOX
20 pages
Print Icon
To Next Page IconTo Next Page
To Next Page IconTo Next Page
To Previous Page IconTo Previous Page
To Previous Page IconTo Previous Page
Loading...
4. PRODUCT DESCRIPTION
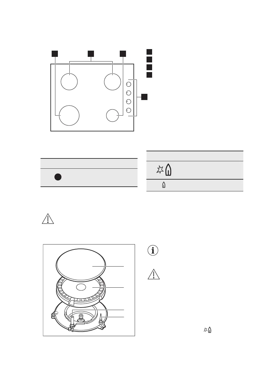
4.1 Cooking surface layout
2
1 3
4
1
Rapid burner
2
Semi-rapid burner
3
Auxiliary burner
4
Control knobs
4.2 Control knob
Symbol Description
no gas supply / off posi‐
tion
Symbol Description
ignition position / maxi‐
mum gas supply
minimum gas supply
5. DAILY USE
WARNING!
Refer to Safety chapters.
5.1 Burner overview
A
B
D
C
A. Burner cap
B. Burner crown
C. Ignition candle
D. Thermocouple
5.2 Ignition of the burner
Always light the burner
before you put on the
cookware.
WARNING!
Be very careful when you
use open fire in the kitchen
environment. The
manufacturer declines any
responsibility in case of the
flame misuse.
1. Push the control knob down and turn
it counterclockwise to the maximum
gas supply position (
).
2. Keep the control knob pushed for
equal or less than 10 seconds. This
ENGLISH 13

Related product manuals