EasyManua.ls Logo

Electrolux EJF4340AOW - Πληροφορια Για Τη Τεχνολογια no Frost; Πριν Να Χρησιμοποιηστε Το Ψυγειο

Electrolux EJF4340AOW
88 pages
Print Icon
To Next Page IconTo Next Page
To Next Page IconTo Next Page
To Previous Page IconTo Previous Page
To Previous Page IconTo Previous Page
Loading...
ΕΛΛΑΣ 23
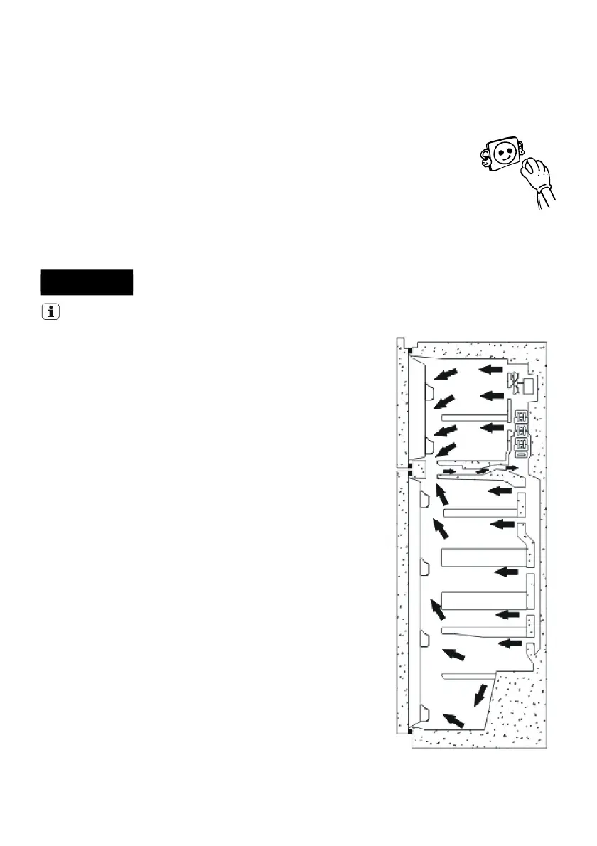
ΠΛΗΡΟΦΟΡΙΑ ΓΙΑ ΤΗ ΤΕΧΝΟΛΟΓΙΑ NO FROST
Τα ψυγεία No-Frost, είναι διαφορετικά από τα άλλα
στατικά ψυγεία με το σύστημα λειτουργείας Στα κανονικά
ψυγεία, η υγρασία που μπαίνει μέσα στο ψύκτη κατα τη
διαρκεία ανοίγματος της πόρτας, μαζί με την υγρασία
των τροφίμων δίνει αφορμή για να διμηουργήση πάγο
στο ψύκτη.
Για να ξεπαγώσει των χιονιών και των πάγων που
διμηουργήθηκαν, από καιρού σε καιρό οι παρακάτω
ενέργειες πρέπει να εκτελεστούν : πρώτα το ψυγέιο
πρέπει να ανακόπτει, ύστερα τα τρόφιμα που πρέπει να
διατηρηθούν τη παγερότητα, κατα τη διαρκεία της αυτής
ενέργειας πρέπει να βγάλουν έξω από το ψυγείο και οι
ανεποθετωμένοι πάγοι επίσης πρέπει να καθαριστούν.
Στα No-Frost ψυγεία ο τρόπος είναι εντελώς
διαφορετικός. Ο κρύος και ξερός αέρας φυσάται ως
ομογενής από τις πολές θέσεις στο ψυκτικό και στο
ψύκτη. Χάριν της απονομής του κρύου αέρα ακόμα και
μεταξύ των ραφιών όλα τα τρόφιμα σας κρυώνουν εξίσου
και κανονικά. Επίσης εμποδεύει να δημιουργηθούν της
υγρασίας και του πάγου.
Για αυτό το λόγο No-Frost ψυγείο μας μαζί με την
αισθητική εμφάνιση και με ευρύχωρο όγκο του
εξασφαλίζει να το χρησιμοποιήσετε εύκολα.
ΠΡΙΝ ΝΑ ΧΡΗΣΙΜΟΠΟΙΗΣΤΕ ΤΟ ΨΥΓΕΙΟ
ΜΕΡΟΣ -1
Πριν χρησιμοποιήσετε το ψυγείο σας, σκουπίστε όλα τα μέρη του με χλιαρό νερό στο
οποίο θα έχετε προσθέσει ένα κουταλάκι του γλυκού μαγειρική σόδα και κατόπιν
ξεπλύνετέ το με καθαρό νερό και σκουπίστε το. Μετά τον καθαρισμός τοποθετήστε όλα
τα αξεσουάρ.
Πριν χρησιμοποιήσετε το ψυγείο σας
Όταν το ψυγείο σας χρησιμοποιηθεί για πρώτη φορά ή μετά τη
μεταφορά, διατηρήστε το σε όρθια θέση για 3 ώρες πριν το
συνδέσετε στην πρίζα, ώστε να επιτραπεί η αποδοτική λειτουργία
του. Αλλιώς μπορεί να προξενήσετε ζημιά στο συμπιεστή.
Το ψυγείο σας μπορεί να έχει μια οσμή όταν χρησιμοποιηθεί για πρώτη φορά. Η οσμή θα
απομακρύνεται σταδιακά καθώς το ψυγείο σας αρχίσει να κρυώνει.

Table of Contents

Related product manuals