EasyManua.ls Logo

Electrolux ENT3FF18S3 - Utilização DIária

Electrolux ENT3FF18S3
64 pages
Print Icon
To Next Page IconTo Next Page
To Next Page IconTo Next Page
To Previous Page IconTo Previous Page
To Previous Page IconTo Previous Page
Loading...
Para congelar alimentos
frescos ative a função
FastFreeze pelo menos, 24
horas antes de colocar os
alimentos a congelar no
compartimento congelador.
Para activar a função FastFreeze prima
o botão FastFreeze . O indicador
FastFreeze liga-se.
Esta função pára
automaticamente após 52
horas.
É possível desactivar a função em
qualquer momento premindo o botão
FastFreeze novamente. A luz
FastFreeze apaga-se.
4.5 Alarme de porta aberta
Se a porta o frigorífico ficar aberta
durante aproximadamente 5 minutos, o
som é ativado.
Durante o alarme, o som pode ser
silenciado premindo qualquer botão. O
som desliga-se automaticamente após
cerca de uma hora para evitar
perturbações.
O alarme e desativado após fechar a
porta.
5. UTILIZAÇÃO DIÁRIA
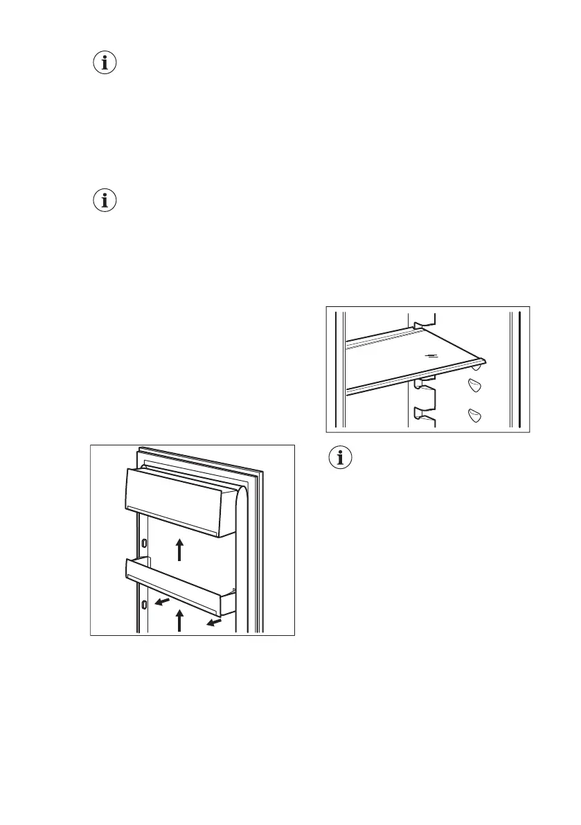
5.1 Posicionar as prateleiras da
porta
Para permitir a arrumação de
embalagens de alimentos de diversos
tamanhos, as prateleiras da porta podem
ser colocadas a alturas diferentes.
1. Puxar gradualmente a prateleira para
cima até sair.
2. Reposicionar como pretender.
1
2
5.2 Prateleiras amovíveis
As paredes do frigorífico possuem várias
calhas que permitem posicionar as
prateleiras conforme pretendido.
Não desloque a prateleira de
vidro que cobre a gaveta de
legumes, para garantir uma
circulação de ar correcta.
5.3 Gavetas para legumes
Existem gavetas especiais na parte
inferior do aparelho adequadas para o
armazenamento de fruta e legumes.
5.4 Controlo de humidade
A prateleira de vidro possui um
dispositivo com ranhuras (ajustável com
um manípulo deslizante), que permite
regular a humidade na(s) gaveta(s) de
legumes.
PORTUGUÊS 29

Related product manuals