EasyManua.ls Logo

Electrolux EOB 53003 - Cooking Duration Timer; End of Cooking Timer

Electrolux EOB 53003
Print Icon
To Next Page IconTo Next Page
To Next Page IconTo Next Page
To Previous Page IconTo Previous Page
To Previous Page IconTo Previous Page
Loading...
electrolux 39
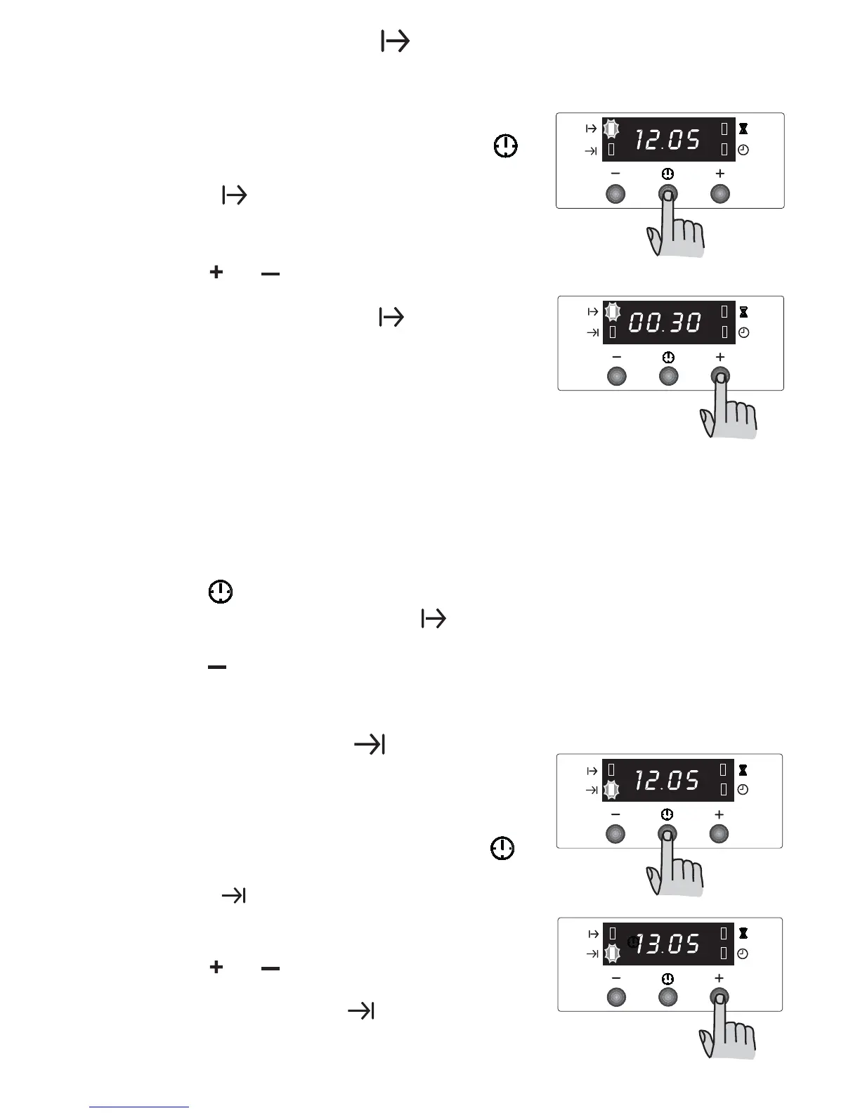
To set the duration time:
1. press button “ ” or “ ”.
2. After the setting is carried out, wait for 5 seconds:
the "Cooking Duration" pilot lamp will come on
and the display will revert to the time of day.
3. When cooking time is over, the oven will be switched
off automatically and an acoustic alarm will be heard,
while the pilot lamp will start flashing. Turn the oven
function and the thermostat control knob to zero.
To switch off the acoustic alarm, press any button.
NOTE: when doing this operation, the oven will be
operated again, therefore, remember to turn the oven
function and the thermostat control knob to zero at
the end of the cooking time.
To cancel the duration time:
1. Press button repeatedly to select the “Cooking
Duration” function. The relevant pilot lamp will flash
and the display will show the remaining cooking time.
2. Press button “ ” until the display shows “0:00”. After
5 seconds the pilot lamp will go out and the display
will revert to the time of day.
“End of cooking” function
Thanks to this function, you can set the oven to switch off
automatically when a programmed end of cooking time is
over. Place food in the oven, select a cooking function and
adjust the cooking temperature. Press button
repeatedly to select the “End of cooking” function. The
relevant pilot lamp will start flashing. Then, proceed
as follows:
To set the end of cooking time:
1. press button “ ” or “ ”.
2. After the setting is carried out, wait for 5 seconds:
the “End of cooking” pilot lamp will come on and
the display will revert to the time of day.
“Cooking Duration” function
Thanks to this function, the oven will automatically switch
off at the end of a programmed cooking duration time.
Place food in the oven, select a cooking function and
adjust the cooking temperature. Press button
repeatedly to select the “Cooking Duration” function. The
relevant pilot lamp will start flashing. Then, proceed
as follows:

Related product manuals