EasyManua.ls Logo

Electrolux EOB3400BOX - การใช อ ุ ป กรณ เ สริ ม

Electrolux EOB3400BOX
48 pages
Print Icon
To Next Page IconTo Next Page
To Next Page IconTo Next Page
To Previous Page IconTo Previous Page
To Previous Page IconTo Previous Page
Loading...
6.4 การตั้งคา สิ้นสุดโปรแกรม
1. กำหนดฟงกชั่นเตาอบและตั้งอุณหภูมิ
2. กด
ซ้ำ ๆ จนกวา จะเริ่มกะพริบ
3. กด หรือ เพื่อตั้งเวลา
จอแสดงผลแสดงขอความ
4. เมื่อเวลาสิ้นสุดลง จะติดกะพริบและสง
สัญญาณเสียง กดปุมใด ๆ เพื่อหยุด
สัญญาณดังกลาว
5. บิดลูกบิดปรับฟงกชั่นของเตาอบและแปน
ปรับอุณหภูมิไปที่ตำแหนงปดการทำงาน
6. เครื่องหยุดทำงาน โดยอัตโนมัติ
6.5 การตั้งคา หนวงเวลา
1. กำหนดฟงกชั่นเตาอบและตั้งอุณหภูมิ
2. กด ซ้ำ ๆ จนกวา จะเริ่มกะพริบ
3. กด
หรือ เพื่อกำหนด ระยะเวลา
4. กด
5. กด หรือ เพื่อกำหนดเวลาสิ้นสุด
โปรแกรม
6. กด เพื่อยืนยัน
เครื่องจะเปดทำงานอัตโนมัติในภายหลัง
ใชไดเฉพาะสำหรับระยะเวลาที่กำหนด และจุ
หยุดลงเมื่อถึงเวลาสิ้นสุดโปรแกรมที่กำหนด
เมื่อเวลาที่ตั้งไว เสียงสัญญาณจะดังขึ้น
7. บิดลูกบิดปรับฟงกชั่นของเตาอบและแปน
ปรับอุณหภูมิไปที่ตำแหนงปดการทำงาน
8. เครื่องหยุดทำงาน โดยอัตโนมัติ
6.6 การตั้งคา MINUTE MINDER
1. กด ซ้ำ ๆ จนกวา จะเริ่มกะพริบ
2. กด หรือ เพื่อตั้งเวลาตามความ
เหมาะสม
Minute Minder จะเริ่มทำงานอัตโนมัติหลัง
ผานไป 5 วินาที
3. เมื่อเวลาที่ตั้งไวสิ้นสุดลง เสียงสัญญาณจะ
ดังขึ้น กดปุมใด ๆ เพื่อหยุดเสียงเตือน
4. หมุนลูกบิดฟงกชั่นของเตาอบไปที่
ตำแหนงปด
6.7 การยกเลิกฟงกชั่นนาฬิกา
1. กดปุม ซ้ำกันไปเรื่อย ๆ จนกระทั่งไฟ
สถานะฟงกชั่นเริ่มติดกะพริบ
2. กดคางที่
ฟงกชั่นนาฬิกาจะดับลงหลังผานไปครูหนึ่ง
7. การใชอุปกรณเสริม
คำเตือน
ดูรายละเอียดจากหัวขอ ความ
ปลอดภัย
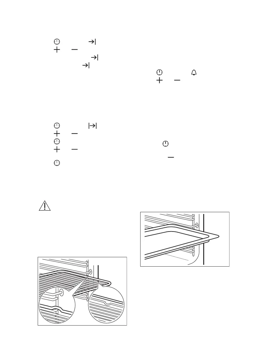
7.1 การสอดอุปกรณเสริมตาง ๆ
ตะแกรงชั้นวาง:
ดันชั้นวางระหวางแกนกำหนดแนวของฐาน
รองชั้นวาง และตรวจสอบวาขาชี้ลง
กระทะกนลึก:
ดันกระทะกนลึกไประหวางแนวนำที่ฐานรอง
ชั้นวาง
ชั้นวางตะแกรงและกระทะกนลึกพรอมกัน:
ดันกระทะกนลึกระหวางแนวนำที่ฐานชั้นวาง
และชั้นวางตะแกรงที่แนวนำดานบนโดยฐาน
จะตองชี้ลง
www.electrolux.com32

Related product manuals