EasyManua.ls Logo

Electrolux EOB3400BOX - การใช ง านประจำวั น; ก อ นการใช ง านครั ้ ง แรก; รายละเอี ย ดผลิ ต ภั ณ ฑ

Electrolux EOB3400BOX
48 pages
Print Icon
To Next Page IconTo Next Page
To Next Page IconTo Next Page
To Previous Page IconTo Previous Page
To Previous Page IconTo Previous Page
Loading...
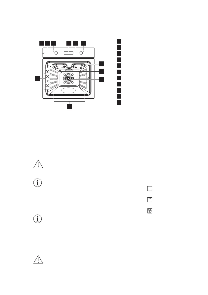
3. รายละเอียดผลิตภัณฑ
3.1 ภาพรวมเบื้องตน
8
7
11
9
10
5
4
1
2
3
31 64 52
1
แผงควบคุม
2
แปนฟงกชั่นของเตาอบ
3
ไฟ/สัญลักษณแสดงการทำงาน
4
โปรแกรมอิเล็กทรอนิกส
5
แปนปรับอุณหภูมิ
6
ไฟ/สัญลักษณแจงอุณหภูมิ
7
สวนทำความรอน
8
หลอดไฟ
9
พัดลม
10
ฐานรองชั้นวางถอดได
11
ตำแหนงชั้นวาง
3.2 อุปกรณเสริม
ตะแกรงชั้นวาง
สำหรับภาชนะ ถาดเคกและอุปกรณปงยาง
ถาดอบ
สำหรับเคกและบิสกิต
ถาดปง/ยาง
สำหรับอบและยางหรือใชเปนอางรองไข
มัน
4. กอนการใชงานครั้งแรก
คำเตือน
ดูรายละเอียดจากหัวขอ ความ
ปลอดภัย
ตั้งคาเวลาตามคำแนะนำใน
หัวขอ “ฟงกชั่นนาฬิกา”
4.1 การทำความสะอาดเบื้องตน
นำอุปกรณทั้งหมดและฐานรองชั้นวางที่ถอด
ไดออกจากเครื่อง
ดูในหัวขอ "การดูแลและ
ทำความสะอาด"
ทำความสะอาดเครื่องและอุปกรณตาง ๆ กอน
ใชงานเปนครั้งแรก
ติดตั้งสวนประกอบตาง ๆ และฐานรองชั้นวาง
แบบถอดไดกลับเขาไปที่ตำแหนงเดิม
4.2 การอุนรอน
อุนรอนเครื่องเปลาเพื่อไลไขมันที่ตกคาง
1. ตั้งคาฟงกชั่น และอุณหภูมิสูงสุด
2. ปลอยใหเครื่องทำงานเปนเวลา 1 ชั่วโมง
3. ตั้งคาฟงกชั่น
จากนั้นตั้งอุณหภูมิสูงสุด
4. ปลอยใหเครื่องทำงานเปนเวลา 15 นาที
5. ตั้งคาฟงกชั่น จากนั้นตั้งอุณหภูมิสูงสุด
6. ปลอยใหเครื่องทำงานเปนเวลา 15 นาที
อุปกรณเสริมอาจรอนกวาปกติ เครื่องอาจสง
กลิ่นและมีควัน ซึ่งถือเปนเรื่องปกติ อากาศใน
หองจะตองถายเทไดสะดวก
5. การใชงานประจำวัน
คำเตือน
ดูรายละเอียดจากหัวขอ ความ
ปลอดภัย
29

Related product manuals