EasyManua.ls Logo

Electrolux EOCP5803AX - Additional Functions

Electrolux EOCP5803AX
48 pages
Print Icon
To Next Page IconTo Next Page
To Next Page IconTo Next Page
To Previous Page IconTo Previous Page
To Previous Page IconTo Previous Page
Loading...
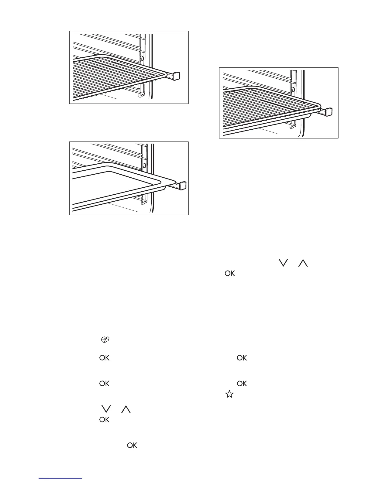
Deep pan:
Put the deep pan on the telescopic
runners.
Wire shelf and deep pan together:
Place the wire shelf and the deep pan
together on the telescopic runner.
10. ADDITIONAL FUNCTIONS
10.1 Favourites
You can save your favourite settings, such
as duration, temperature or heating
function. They are available in the menu:
Favourites. You can save 20 programmes.
Saving a programme
1. Activate the appliance.
2. Set a heating function or an automatic
programme.
3. Touch again and again until the
display shows: SAVE.
4. Press to confirm.
The display shows the first free memory
position.
5. Press to confirm.
6. Enter the name of the programme.
The first letter flashes.
7. Touch or to change the letter.
8. Press
.
The next letter flashes.
9. Do step 7 again as necessary.
10. Press and hold to save.
You can overwrite a memory position.
When the display shows the first free
memory position, touch or and
press to overwrite an existing
programme.
You can change the name of a
programme in the menu: Edit Programme
Name.
Activating the programme
1. Activate the appliance.
2. Select the menu: Favourites.
3. Press
to confirm.
4. Select your favourite programme
name.
5. Press to confirm.
Press
to go directly to menu:
Favourites.
10.2 Using the Child Lock
When the Child Lock is on, the appliance
cannot be activated accidentally.
ENGLISH
19

Related product manuals