EasyManua.ls Logo

Electrolux EOD6P40X - Additional Functions

Electrolux EOD6P40X
36 pages
Print Icon
To Next Page IconTo Next Page
To Next Page IconTo Next Page
To Previous Page IconTo Previous Page
To Previous Page IconTo Previous Page
Loading...
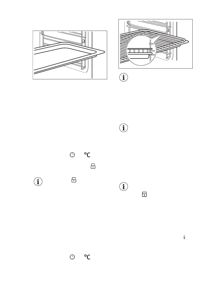
Push the deep pan between the guide
bars of the shelf support.
Wire shelf and deep pan together:
Push the deep pan between the guide
bars of the shelf support and the wire
shelf on the guide bars above.
Small indentation at the top
increase safety. The
indentations are also anti-tip
devices. The high rim
around the shelf prevents
cookware from slipping of
the shelf.
9. ADDITIONAL FUNCTIONS
9.1 Using the Child Lock
When the Child Lock is on the oven
cannot be turned on accidentally.
1. Ensure the knob for the oven
functions is in the off position.
2. Press and hold
and at the
same time for 2 seconds.
The signal sounds. SAFE and appear
on the display. The door is locked.
The symbol appear on
the display also when
Pyrolysis function operates.
To turn off the Child Lock, repeat step 2.
9.2 Using the Function Lock
You can turn on the Function Lock
function only when the oven operates.
When the Function lock is on the
temperature and time settings of a
running oven function cannot be
changed accidentally.
1. Select an oven function and set it
according your preferences.
2. Press and hold and at the
same time for 2 seconds.
The signal sounds. Loc appears on the
display for 5 seconds.
Loc appears on the display
when you turn the knob for
the temperature or press any
button when the Function
lock is on.
When you turn the knob for the oven
functions, the oven stops.
When you turn off the oven while the
Function Lock is on, the Function Lock
switches automatically to the Child Lock.
Refer to "Using the Child Lock".
If the Pyrolysis function
operates, the door is locked
and appears on the
display.
To turn off the Function Lock, repeat step
2.
9.3 Residual heat indicator
When you turn off the oven, the display
shows the residual heat indicator if
the temperature in the oven is more than
40 °C.Turn the knob for the temperature
left or right to check the oven
temperature.
9.4 Automatic Switch-Off
For safety reasons the oven turns off
automatically after some time, if a
ENGLISH 13

Related product manuals