EasyManua.ls Logo

Electrolux ERC925DSD - Page 16

Electrolux ERC925DSD
44 pages
Print Icon
To Next Page IconTo Next Page
To Next Page IconTo Next Page
To Previous Page IconTo Previous Page
To Previous Page IconTo Previous Page
Loading...
16 electrolux.com.au
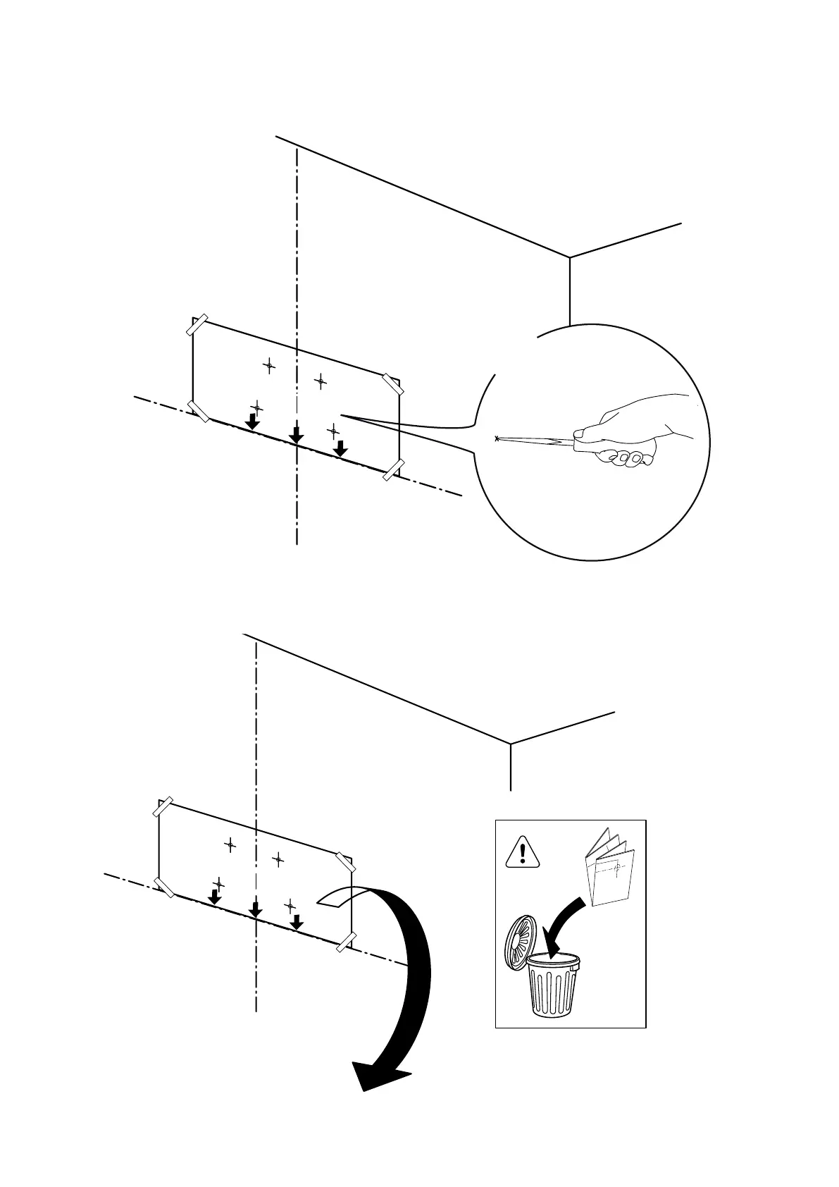
INSTALLATION (CONTINUED)
3
4
3x

Related product manuals