EasyManua.ls Logo

Electrolux EWW12842 - Penggunaan Harian - Membasuh

Electrolux EWW12842
112 pages
Print Icon
To Next Page IconTo Next Page
To Next Page IconTo Next Page
To Previous Page IconTo Previous Page
To Previous Page IconTo Previous Page
Loading...
52
www.electrolux.com
Langkah 1 - Menetapkan Program Untuk Pembasuhan
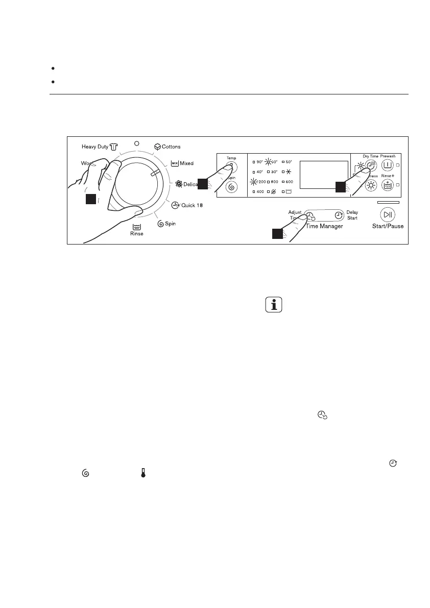
5.1 Panduan Mula Empat Langkah
PENGGUNAAN HARIAN - MEMBASUH5.
Pasangkan palam utama kepada soket utama.
Buka bekalan arus air.
4
3
2
1
4.
1.
Putar dail pemilih program kepada
program yang dikehendaki.
Sebaik sahaja anda memilih program
basuhan, program yang dipilih akan
kekal pada kedudukan tersebut
untuk sepanjang basuhan.
-
Dail pemilih boleh diputar sama ada
mengikut arah jam atau berlawanan
arah jam.
-
Paparan menunjukkan aras Time
Manager (pengurus masa), tempoh
program dan penunjuk bagi fasa
dalam program.
-
2.
Jika anda inginkan kain kotor anda
diputar atau gunakan suhu berlainan
daripada yang diusulkan oleh mesin
pembasuh, tekan pad sentuh Putar
‘ ’ dan suhu ‘ ’ berulang kali untuk
menukar kelajuan dan suhu putaran.
3.
Pilih dan tekan opsyen pad sentuh,
jika anda inginkan kain basuhan
anda dicuci dengan fungsi khas.
Fungsi berlainan boleh
digabungkan yang bergantung
pada program yang dipilih.
Apabila butang ini ditekan, lampu
pandu yang berkaitan akan menyala.
Apabila ia ditekan lagi, lampu pandu
yang berkaitan akan padam.
Jika anda mahu mengurangkan
masa membasuh, tekan pad sentuh
‘Laras Masa ’ berulang kali untuk
mengurangkan masa membasuh.
Jika anda mahu menundakan
permulaan program pembasuhan,
tekan pad sentuh ‘Tunda Mula ’
berulang kali untuk memilih masa
tunda mesin basuh anda.

Table of Contents

Related product manuals