EasyManua.ls Logo

Electrolux GT368 - Funzionamento

Electrolux GT368
Print Icon
To Next Page IconTo Next Page
To Next Page IconTo Next Page
To Previous Page IconTo Previous Page
To Previous Page IconTo Previous Page
Loading...
2.7 Smaltimento
AVVERTENZA!
Rischio di lesioni o
soffocamento.
Staccare la spina dall'alimentazione
elettrica.
Tagliare il cavo di rete e smaltirlo.
Rimuovere la porta per evitare che
bambini e animali domestici
rimangano chiusi all’interno
dell’apparecchiatura.
Il circuito refrigerante e i materiali di
isolamento di questa apparecchiatura
rispettano l'ozono.
La schiuma isolante contiene gas
infiammabili. Contattare le autorità
locali per ricevere informazioni su
come smaltire correttamente
l'apparecchiatura.
Non danneggiare i componenti
dell'unità refrigerante che si trovano
vicino allo scambiatore di calore.
3. FUNZIONAMENTO
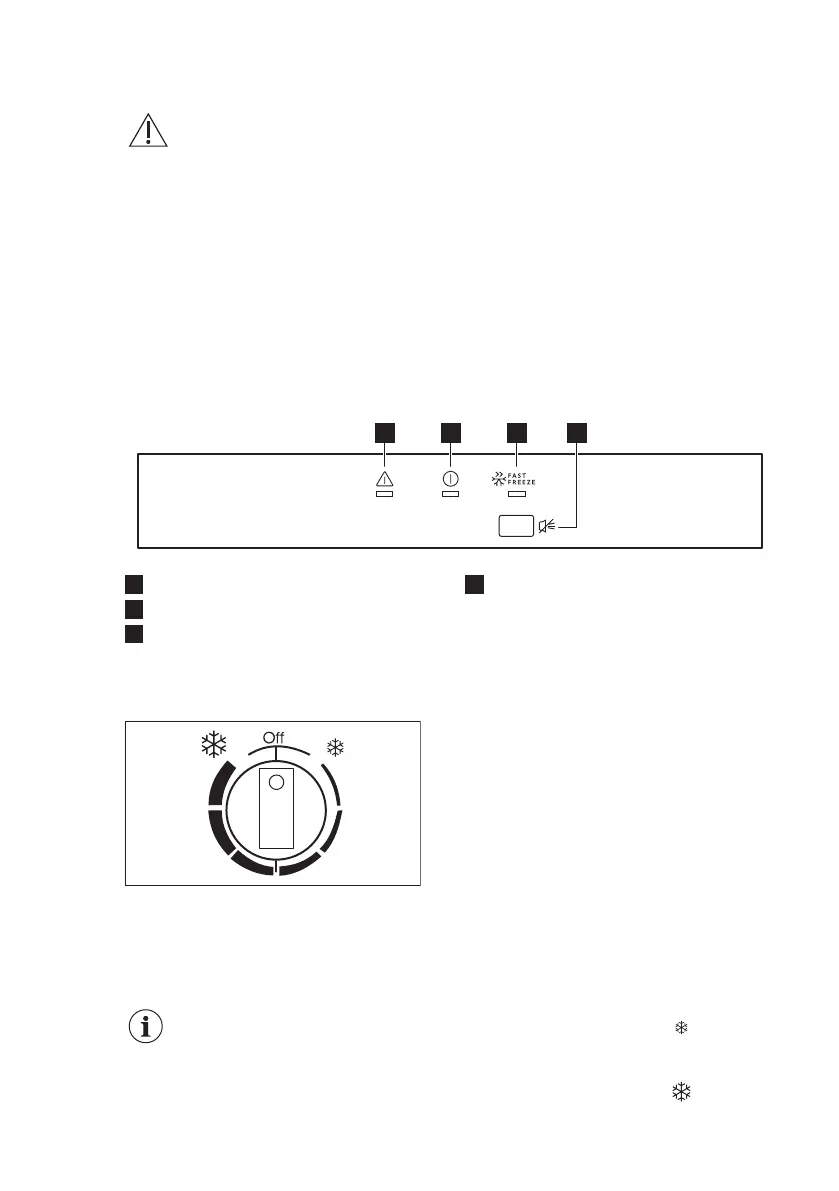
3.1 Pannello comandi
1 2 3 4
1
Spia di allarme di temperatura alta
2
Spia Alimentazione
3
Spia FastFreeze
4
Interruttore FastFreeze e reset
dell'allarme
3.2 Accensione
1. Inserire la spina nella presa a muro.
2. Impostare il regolatore di
temperatura ad un livello medio,
ruotandolo in senso orario.
La spia dell'alimentazione si accende.
Se la temperatura all'interno
dell'apparecchiatura è troppo
alta, la spia di allarme
lampeggia. Attivare la
funzione FastFreeze .
3.3 Spegnimento
Ruotare il regolatore di temperatura in
posizione OFF .
3.4 Regolazione della
temperatura
La temperatura all'interno
dell'apparecchiatura è controllata dal
regolatore della temperatura che si trova
sul pannello dei comandi.
Per mettere in funzione
l'apparecchiatura, procedere come
segue:
per ottenere la minima intensità di
raffreddamento, ruotare il regolatore
della temperatura verso
.
per ottenere la massima intensità di
raffreddamento, ruotare il regolatore
della temperatura verso .
www.electrolux.com36

Related product manuals