EasyManua.ls Logo

Electrolux LUT1AE32W - Funcionamiento

Electrolux LUT1AE32W
92 pages
Print Icon
To Next Page IconTo Next Page
To Next Page IconTo Next Page
To Previous Page IconTo Previous Page
To Previous Page IconTo Previous Page
Loading...
El fabricante declina toda
responsabilidad si no se toman las
precauciones antes indicadas.
Este aparato cumple las directivas
CEE.
3.4 Nivelado
Al colocar el aparato, asegúrese de que
queda nivelado. Esto se puede
conseguir con dos patas ajustables en la
parte inferior delantera.
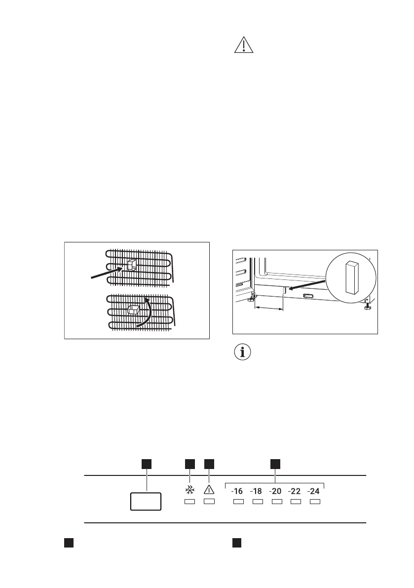
3.5 Espaciadores traseros
En la bolsa con la documentación, hay
dos espaciadores que deben colocarse
como se muestra en la figura.
Si coloca el aparato contra una pared en
una instalación independiente, instale los
espaciadores traseros para garantizar la
máxima distancia posible.
3.6 Cambio del sentido de
apertura de la puerta
Consulte el documento separado con
instrucciones de instalación y de
inversión de la puerta.
PRECAUCIÓN!
En todas las fases del
cambio de sentido de la
puerta, proteja la puerta de
arañazos con un material
resistente.
3.7 Apertura fácil
El volumen del aire de refrigeración se
contrae dentro del aparato provocando
succión, lo que dificulta la apertura de la
puerta. Para facilitar la apertura del
aparato, utilice una lámina adhesiva de
la bolsa de documentación.
Para instalar la lámina:
1. Despegue cubierta posterior de la
lámina.
2. Pegue la lámina en el armazón, en la
parte inferior del aparato, a una
distancia mínima de 60 mm a 100
mm de la bisagra.
60-100 mm
Mantenga la lámina alejada
de los niños. Hay un riesgo
de que puedan tragarse.
4. FUNCIONAMIENTO
4.1 Panel de mandos
1 2 3 4
1
Botón de regulación de temperatura
2
Indicador Super Freeze
ESPAÑOL 81

Related product manuals