EasyManua.ls Logo

Electrolux W375H - To Select the Service Program Function

Electrolux W375H
240 pages
Print Icon
To Next Page IconTo Next Page
To Next Page IconTo Next Page
To Previous Page IconTo Previous Page
To Previous Page IconTo Previous Page
Loading...
Service
Manual
15
23
23. Programme unit
438 9145-41/03
03.11
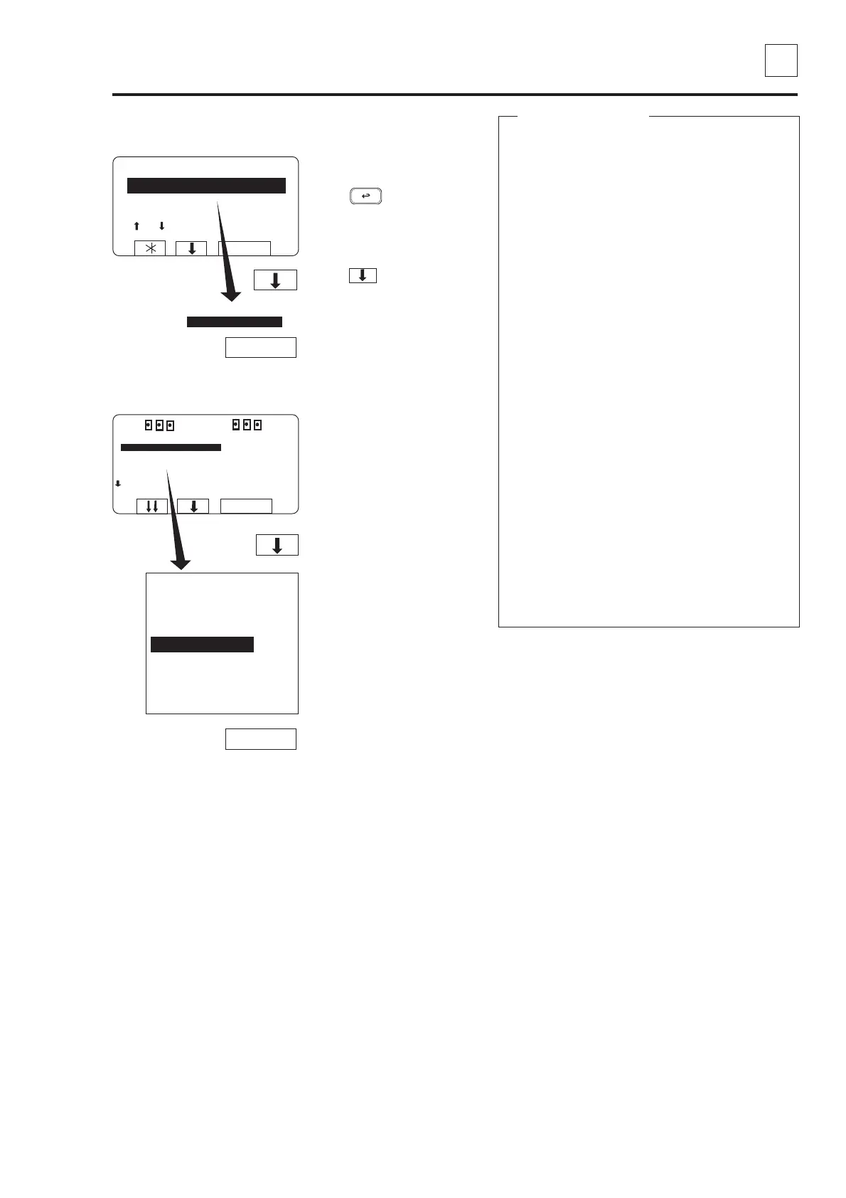
To select the ”Service Program” function
Press b four times.
... to highlight
”SERVICE MODE”.
RUN A WASH PROGRAM
GO TO THE MENU
MAKE YOUR CHOICE WITH
OR AND PRESS SELECT
WEIGHT, KG 000,0
SELECT
SELECT
MENU
MAKE A CHOICE:
WASH PROGRAM LIBRARY
PROGRAMMING MODE
SETTINGS 1
MEMORY CARD
SERVICE MODE
STATISTICS
WASH PROGRAM LIBRARY
PROGRAMMING MODE
SETTINGS 1
MEMORY CARD
SERVICE MODE
STATISTICS
MANUAL MODE
SETTINGS 2
EXIT
SELECT
SELECT
RUN A WASH PROGRAM
GO TO THE MENU
If this menu is not currently
displayed:
Press repeatedly.
Press to highlight
”GO TO THE MENU”.
Press SELECT.
Press SELECT.
The service program
The service program makes fault-finding on the
machine easier, as it allows you to control the
various machine functions individually:
water filling
detergent flushing
motor rotation, clockwise and counterclockwise
motor action, distribution and extraction
drain
door lock
heating
buzzer
You can also check which input signals to the
PCU are activated:
emergency stop
remote start
oil lubrication
service
repeat rinse
phase check
door locked
door closed
unbalance
The following values will also be displayed at all
times:
water level in machine
water temperature
motor speed
whether drain is open or closed

Table of Contents

Other manuals for Electrolux W375H

Related product manuals