EasyManua.ls Logo

ELEVATE BC-4040-2-EF - Attach the folding shank; Slide the cradles onto the horizontal arms

Default Icon
8 pages
Print Icon
To Next Page IconTo Next Page
To Next Page IconTo Next Page
To Previous Page IconTo Previous Page
To Previous Page IconTo Previous Page
Loading...
Page 4070621 1-888-651-3431
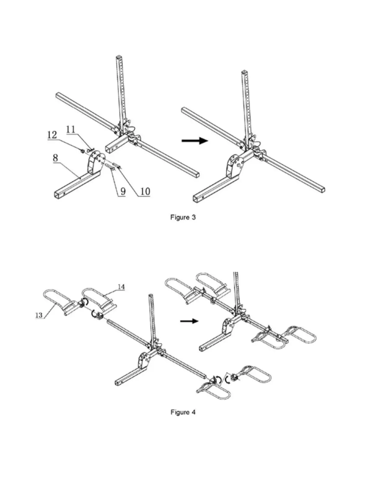
Step 3. Attach the folding shank (#8) to the support base assembly tube using an M16 bolt (#9), an
M16 lock nut (#12), a 5/8” pin (#10), and a clip (#11) for extra safety. See Figure 3.
Step 4. Slide the cradles onto the horizontal arms. Release the knob of the left and right cradle (#13
and #14). The knob should be facing up and the loop end of the cradle should be facing outward
and upward. Insert the cradles in sequence, as shown in Figure 4. After all four cradles are on the
horizontal arms, tighten them.
Step 3. Attach the folding shank (#8) to the support base assembly tube using an M16 bolt (#9), an
M16 lock nut (#12), a 5/8” pin (#10), and a clip (#11) for extra safety. See Figure 3.
Step 4. Slide the cradles onto the horizontal arms. Release the knob of the left and right cradle (#13
and #14). The knob should be facing up and the loop end of the cradle should be facing outward
and upward. Insert the cradles in sequence, as shown in Figure 4. After all four cradles are on the
horizontal arms, tighten them.

Related product manuals