EasyManua.ls Logo

Emec AMS 0340 - Page 35

Default Icon
44 pages
Print Icon
To Next Page IconTo Next Page
To Next Page IconTo Next Page
To Previous Page IconTo Previous Page
To Previous Page IconTo Previous Page
Loading...
35
5
4
2
1
3
6
7
8
1,5 m
9
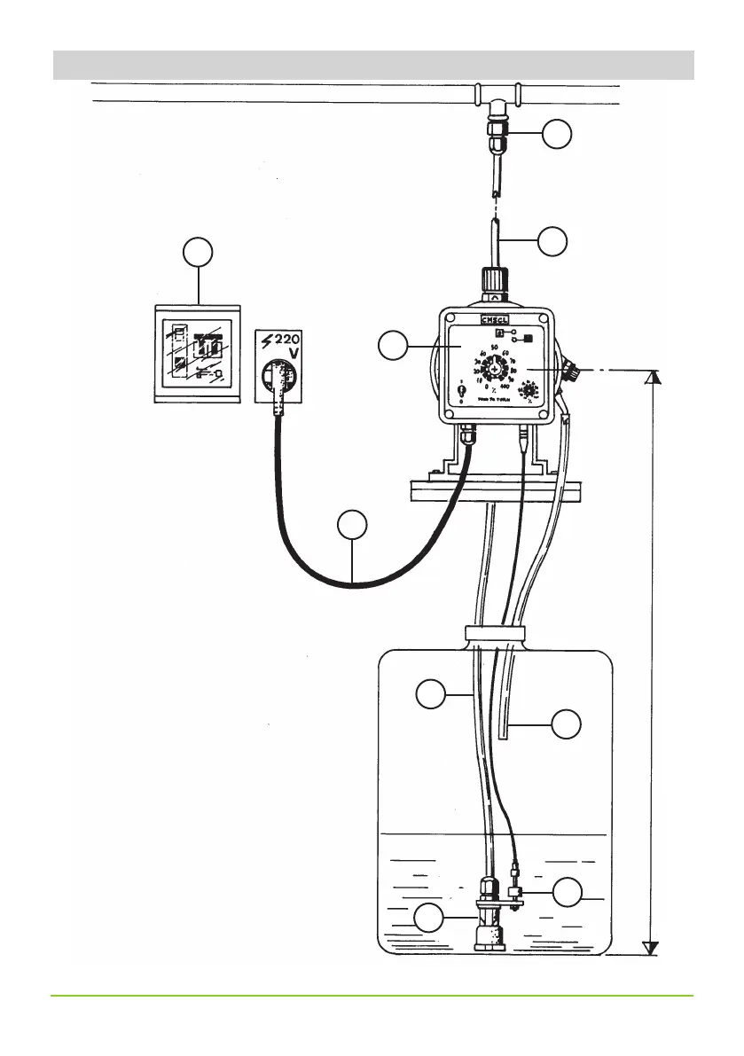
1) Injection Valve
2) Venting hose
3) Safety switch
4) Control Panel
5) Mains cable
6) Out gassing hose
7) Suction Hose
8) Foot valve filter
9) Level Probe Switch
H Appendix. Installation draw for AMS CL