EasyManua.ls Logo

Emec AMS 0340 - Page 37

Default Icon
44 pages
Print Icon
To Next Page IconTo Next Page
To Next Page IconTo Next Page
To Previous Page IconTo Previous Page
To Previous Page IconTo Previous Page
Loading...
37
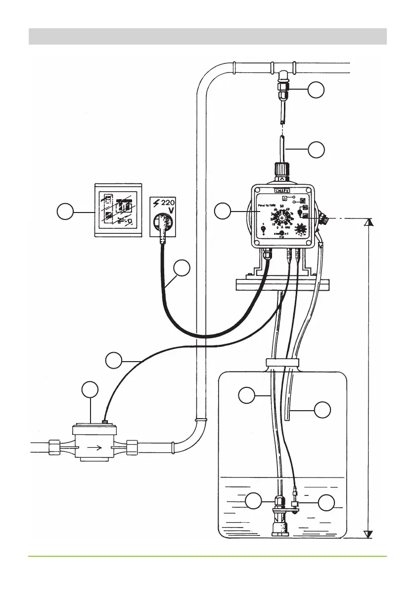
L Appendix. Installation draw for AMS PV
6
7
9
4
5
8
2
1
10
1,5 m
3
11
1) Injection Valve
2) Venting hose
3) Safety switch
4) Control Panel
5) Mains cable
6) Out gassing hose
7) Suction Hose
8) Foot valve filter
9) Level Probe Switch
10) Pulse emitting water meter