EasyManua.ls Logo

Emerson ES30 - Repeat Playback

Emerson ES30
44 pages
Print Icon
To Next Page IconTo Next Page
To Next Page IconTo Next Page
To Previous Page IconTo Previous Page
To Previous Page IconTo Previous Page
Loading...
24
Repeat Playback
You can program the player to continuously repeat a single track or the entire disc.
The Repeat function can be activated while a disc is playing or while the disc is
stopped.
One Track Repeat
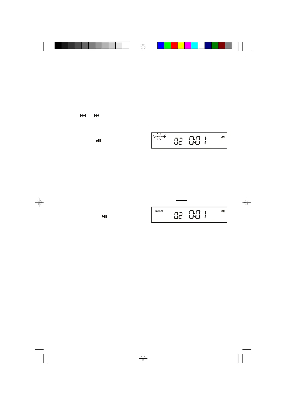
Press the or button until the desired track number appears in the display,
then press the REPEAT/M-UP button once.
The REPEAT indicator flashesin the
display. Press the PLAY/PAUSE button
to begin playback on that track.
The selected track will be repeated continuously.
All Tracks Repeat
Load the disc as usual and wait until the total playing time and track numbers
appear on the display. Press the REPEAT/M-UP button twice.
The REPEAT indicator remains On. Press
the PLAY/PAUSE button to begin
playback.
The entire disc will be repeated continuously.
To cancel Repeat Playback continue pressing the REPEAT/M-UP button until the
REPEAT indicator disappears. Repeat is also canceled by opening the CD Door
or switching to Tuner function.
ES30_072905.p65 29/7/2005, 16:4124

Related product manuals